![]() | |||||||||||||||||||||
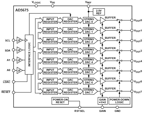
Analog Devices AD5675/R八通道16位元nanoDACAnalog Devices AD5675/R八通道16位元nanoDAC為低功率的數位轉類比轉換器,具備I²C介面,內含增益選擇腳位,可提供全尺度輸出的VREF(增益=1)或 2 x VREF(增益=2)。AD5675R版本包含2.5V、2 ppm/°C內部參考。AD5675/R nanoDAC可用2.7V至5.5V單一電源作業,設計保證具單調性。裝置設計整合了電源開啟重設電路和RSTSEL腳位,確保DAC輸出可驅動至零刻度或中刻度,並保持直到有效寫入。AD5675/R nanoDAC提供關機模式,關機模式下可減少耗電量到最低1 μA(典型值)。這些裝置具備多功能的2線序列介面,可在最高400 kHz時脈速率下作業,並內含用於1.8V至5V邏輯的VLOGIC腳位。
產品特色
應用
| |||||||||||||||||||||
|
| |||||||||||||||||||||
功能方塊圖![]() ![]() | |||||||||||||||||||||
![]() | |||||||||||||||||||||
發佈日期: 2015-08-26
| 更新日期: 2024-03-28






