特點
- 供電作業電壓:1.0V和1.8V
- 可用類比輸入頻寬:125MHz
- 取樣率最高達2 GSPS
- 100 MHz頻寬下,雜訊譜相密度 = −145 dBFS/Hz,2.0 GSPS編碼器
- 100 MHz頻寬下,SNR = 66 dBFS,2.0 GSPS編碼器
- 15.625 MHz頻寬下,SNR = 82 dBFS,2.0 GSPS編碼器
- 100 MHz頻寬下,SFDR = 60 dBc,2.0 GSPS編碼器
- 15.625 MHz頻寬下,SFDR = 80 dBc,2.0 GSPS編碼器
- 大訊號抖動
- 在2.0 GSPS(預設設定)下每通道總功率為90 mW,每通道最小值為35 mW
- 彈性輸入範圍:0.5 Vp-p至2 Vp-p差分
- 90 dB通道串音,2.0 GSPS編碼器
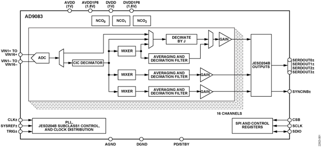
- 數位處理器
- CIC降頻濾波器
- 可程式DDC
- 資料閘控
- JESD204B subclass 1 編碼輸出
- 支援最高達每通道16Gbps
- 彈性的取樣資料處理
- 彈性的JESD204B線路組態
- 序列埠控制
應用
- 毫米波成像
- 電子波束成形和相位陣列
- 多通道寬頻接收器
- 電子支援測量
方塊圖
Enhancing Next-Generation Millimeter Wave Scanners with Edge Processing Technology
Discover how mmWave technology surpasses traditional metal detectors and how a chipset with efficient data management through edge processing enables the development of advanced walkthrough security scanning systems.
發佈日期: 2021-01-27
| 更新日期: 2023-04-17

