Analog Devices Inc. ADA4523-1 Low-Noise Zero Drift Op Amps
Analog Devices Inc. ADA4523-1 Low-Noise Zero Drift Op Amps feature precision DC performance over a wide 4.5V to 36V supply range. The ADA4523-1 achieves a maximum offset voltage of ±4µV and a 0.1Hz to 10Hz input noise voltage of 88nV p-p typical. The self-calibrating circuitry of the ADA4523-1 results in low offset voltage drift with temperature (0.01µV/°C maximum) and zero drift over time. The ADA4523-1 also uses on-chip filtering to achieve high immunity to electromagnetic interference (EMI).Features
- 4.5V to 36V supply voltage range
- ±4µV maximum offset voltage at 5V
- 0.01µV/°C maximum offset voltage drift at 5V
- Input noise
- 88nV p-p voltage from 0.1Hz to 10Hz typical
- 4.2nV/√Hz typical spectral density voltage at 1kHz
- Rail-to-rail output
- Unity-gain stable
- 5MHz typical GBP
- 1.8V/µs typical falling slew rate
- 168 dB typical PSRR at VS = 4.5V to 36V
- 160dB typical open-loop voltage gain at VOUT = ±14.75V, RL = 10kΩ, VS = 30V
- 160dB typical CMRR at VCM = -15.1V to +13.5V, VS= 30V
- Integrated EMI filters
- Shutdown mode
- Ground sense
- 8-lead SOIC, 8-lead MSOP, and 8-lead LFCSP package options
Applications
- High-resolution data acquisition
- Reference buffering
- Test and measurement
- Electronic scales
- Thermocouple amplifiers
- Strain gauges
- Low-side current sense
Videos
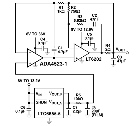
Typical Application
發佈日期: 2020-05-21
| 更新日期: 2025-08-24
