特點
- 10BASE-Te/100BASE-TX/1000BASE-T IEEE® 802.3TM相容MII、RMII及RGMII MAC介面
- 1000BASE-T RGMII延遲TX <68ns、RX <226ns
- 100BASE-TX MII延遲TX <52ns、RX <248ns
- EMC測試標準
- IEC 61000-4-5突波 (±4kV)
- IEC 61000-4-4電快速瞬變脈動群 (EFT) (±4kV)
- IEC 61000-4-2 ESD(±6kV接觸放電)
- IEC 61000-4-6傳導抗擾度 (10V)
- EN55032輻射發射(A級)
- EN55032傳導發射(A級)
- 使用多級腳位設置的無託管配置
- 符合IEEE 802.3az的節能乙太網路 (EEE)
- 支援IEEE 1588時間戳幀啟動檢測
- 增強型鏈路探測
- 可配置LED
- 晶體振盪器/25MHz時鐘輸入(RMII為50MHz)
- 25MHz/125MHz同步時鐘輸出
- 小型封裝及寬溫度範圍
- 40引線 (6mmx6mm) LFCSP
- 指定用於-40°C至+105°C環境溫度運行
- 低功耗
- 330mW - 1000BASE-T
- 140mW - 100BASE-TX
- 3.3V/2.5V/1.8V MAC介面VDDIO電源
- 整合電源監控及POR
應用
- 工業自動化
- 流程控制
- 工廠自動化
- 機器人/運動控制
- 建築自動化
- 測試及測量
- 工業物聯網
影片
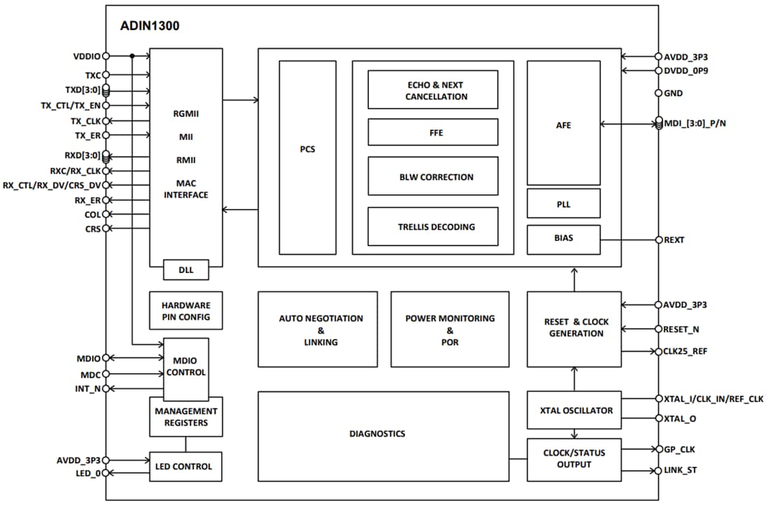
功能方塊圖
其他資源
IEEE標準推動工業4.0的五種方式
時效性網路 (TSN) 是一組IEEE乙太網路標準,是讓工業4.0能實現眾多強大成果的基礎。有了TSN,整個工廠的所有資料(從廠房到伺服器、前台以及中間的任何位置)都可以共存及通訊。探索TSN成為關鍵的5種方式。
瞭解更多
適用於嚴峻工業環境中時間關鍵通訊的強大乙太網路實體層解決方案
為了實現IT和OT網路的無縫連接,並釋放工業4.0的價值,專為工業應用設計的增強型實體層技術將是關鍵的設計選擇。可靠的工業乙太網路PHY技術可解決功耗、延遲、解決方案尺寸、105°C環境溫度、穩健性 (EMC/ESD) 和長產品壽命等挑戰,是連網工廠不可或缺的基礎。
瞭解更多
加速轉移到工業4.0
工業4.0願景的核心是能使用具有收集、收發資訊能力的連網裝置,將流程自動化。透過運用ADI的工業乙太網路解決方案,加速未來智慧工廠的轉型。
瞭解更多
多軸機器人和機具應用的計時挑戰
在高效能、多軸、同步運動應用中,控制計時的要求是具精確性、確定性、時間關鍵性。瞭解如何將端對端延遲降到最低,尤其是在控制週期時間不斷縮短和控制演算法複雜性持續增加的情況下。
瞭解更多
透過10BASE-T1L連接為現場提供無縫的乙太網路
10BASE-T1L能與現場級裝置(感測器和致動器)建立無縫的乙太網路連接,顯著提高工廠營運效率,進而大幅改變製程自動化產業。
瞭解更多
乙太網路APL:運用可採取行動的見解實現最佳的流程自動化
乙太網路APL透過實現與現場裝置的高頻寬、無縫乙太網路連接,改變流程自動化世界。可克服至今為止限制乙太網路在現場使用的挑戰。
瞭解更多
發佈日期: 2019-10-04
| 更新日期: 2025-10-01

