Analog Devices Inc. EVAL-CN0390-EB1Z Circuit Evaluation Board
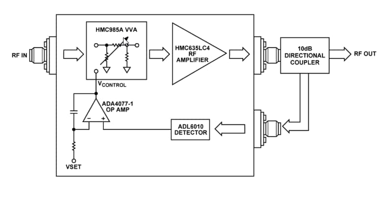
Analog Devices Inc. EVAL-CN0390-EB1Z Circuit Evaluation Board evaluates the performance of the CN0390 20GHz to 37.5GHz RF Automatic Gain Control (AGC) Circuit. The AGC circuit is useful for many functions such as amplitude stabilization of a synthesizer, controlling output power in a transmitter, and optimizing dynamic range in a receiver.The CN0390 Circuit integrates the ADL6010 Envelope Detector, ADA4077-1 High Precision Amplifier, HMC985A GaAs Voltage Variable Attenuator, and HMC635 GaAs RF Amplifier. The ACG figure of merit is between 20GHz and 30GHz. Analog Devices Inc. EVAL-CN0390-EB1Z Circuit Evaluation Board is ideal for microwave instrumentation and radar-based measurement systems.
Features
- 20GHz to 37.5GHz RF automatic gain control
- Wide input amplitude range
- Low phase noise
Block Diagram
發佈日期: 2017-07-11
| 更新日期: 2022-04-18
