Analog Devices Inc. TMCM-3216步進馬達控制器/驅動器模組
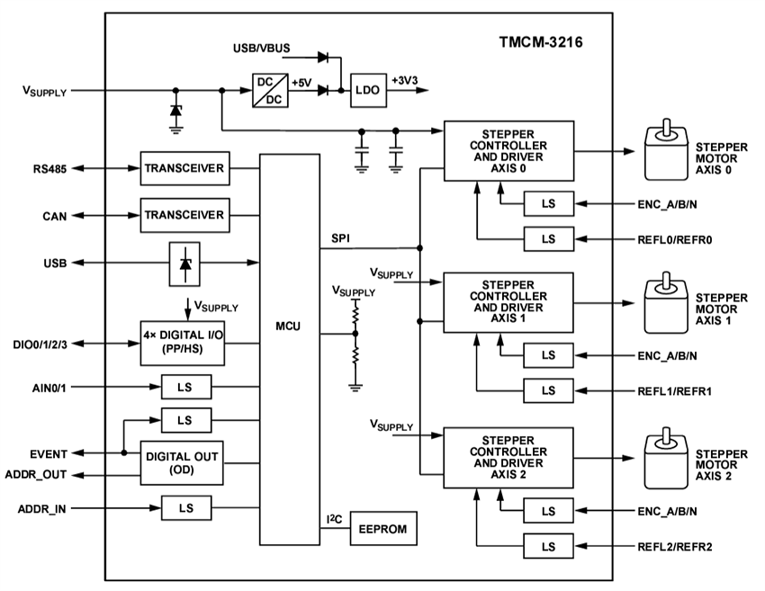
Analog Devices Inc. TMCM-3216步進馬達控制器/驅動器模組是體積小巧的三軸雙極性步進馬達控制器與獨立驅動器面板。Analog Devices Inc. TMCM-3216板支援多達三個雙極步進馬達,馬達線圈電流高達2ARMS,並提供典型24VDC(10V至30V範圍)的單電源作業。每個馬達軸都有獨立的參考/停止開關和增量式A/B/N編碼器輸入。此外,該模組提供四組可設定的數位輸入和輸出,可設定為推拉式或高壓輸出。兩組類比輸入支援0V至10V訊號。USB介面可用於設定和更新。RS485和CAN匯流排介面可用於系統內通訊,並可透過板卡兩端的匯流排連接器串接板卡,以簡化接線。特點
- 三軸步進馬達控制器/驅動器
- 電源電壓範圍為10V至30V,典型值為24V
- 三個1.5ARMS馬達電流,峰值電流為2ARMS
- 八點硬體斜坡產生器
- StealthChop™/SpreadCycle™
- 每個馬達軸的REFL/REFR參考開關輸入
- 每個馬達軸的A/B/N編碼器輸入
- 四種數位輸入/輸出,24V推拉或高編輸出
- 兩個類比輸入,0V至10V
- RS485/CAN/USB介面
- 85mm x 55mm(信用卡尺寸)
- 開機時的自動基板地址分配(選配)
- TMCL、CANopen
應用
- 工業自動化
- 實驗室自動化
- 醫療裝置
影片
多軸應用範例
連接器
內建LED
方塊圖
發佈日期: 2025-01-17
| 更新日期: 2025-06-20
