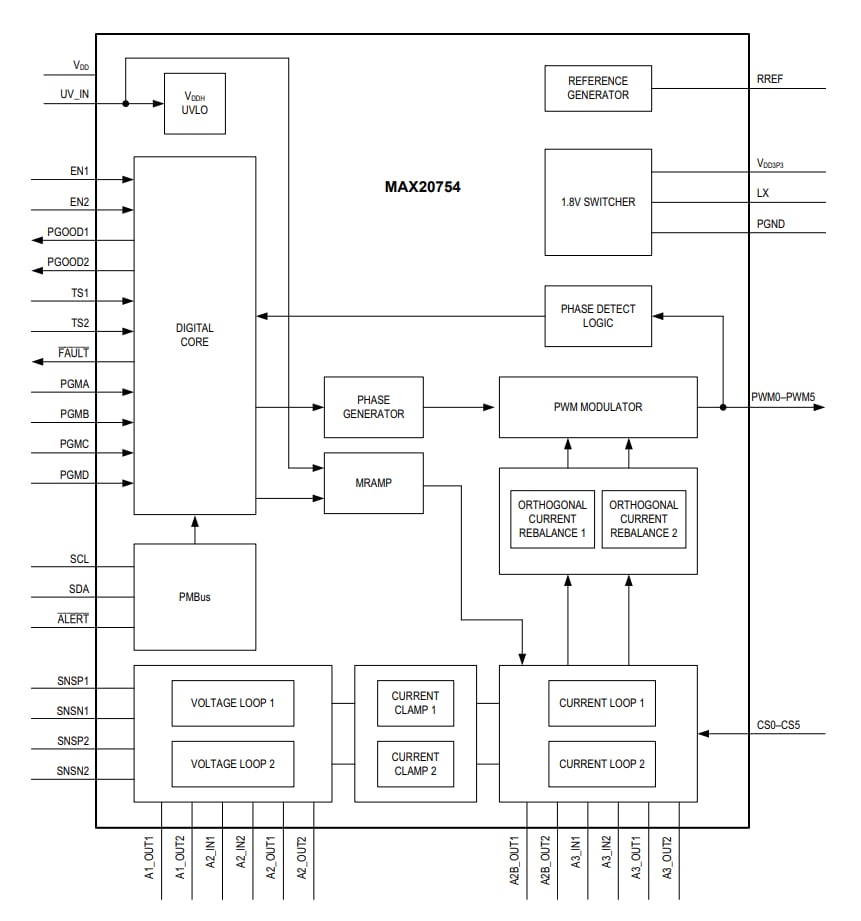
Maxim MAX20754多相電源控制器具備多功能,含整合式開關穩壓器,能為控制器和功率級裝置供電。MAX20754提供準確的負載電流報告、功率級溫度監控、故障偵測和廣泛的PMBus命令支援。此外,使用者可透過MAX20754將PMBus參數儲存到非揮發性記憶體中。
這款控制器極具彈性,允許搭配傳統的獨立式電感器或耦合電感器拓撲一起使用。耦合電感器可在不提高漣波電流的情況下縮小有效電感器值和尺寸,如此將能減少所需輸出電容,同時改善瞬態回應。
MAX20754採用Maxim的進階調變架構 (AMS),與傳統的脈寬調變 (PWM) 控制相比,可提供出色的瞬態回應並降低所需的輸出電容。如果需要嚴格的固定頻率PWM作業,還能停用AMS。
特點
- 多功能且彈性的控制器
- 產生最多六個PWM訊號
- 具備彈性的相位指派,可選單電壓或雙電壓輸出
- 0.5V至2.0V輸出電壓範圍 (MAX20754ETMA1+)
- 0.25V至2.0V輸出電壓範圍 (MAX20754ETMA2+)
- 4.5V至16V輸入電壓範圍
- 300 kHz至800 kHz切換頻率範圍
- 高功率密度,小巧的整體解決方案尺寸
- 支援耦合電感器技術
- 進階調變架構,可改善瞬態回應
- 高迴路頻寬,可降低輸出電容要求
- 48腳位 (7 mm x 7 mm) TQFN封裝
- 用於熱平衡的相位電流引導
- 高效率的整合式內部開關穩壓器,為控制器和功率級供電
- 簡單的系統組態
- 四個外部電阻器,可設定輸出電壓、匯流排地址、切換頻率和電流限制
- 完善的PMBus組態、控制和遙測
- 相容於PMBus標準1.3版
- 10 kHz至1 MHz匯流排速度
- PMBus命令設定儲存在非揮發性記憶體中
- 準確的電流、電壓和溫度回報
應用
- 通訊、網路、伺服器和儲存設備
- ASIC、DSP和FPGA
- 微處理器晶片組
- DDR記憶體
影片
基本應用電路
功能方塊圖
發佈日期: 2021-10-18
| 更新日期: 2023-04-17

