Diodes Incorporated PI3EQX2024 USB 3.2 ReDriver
Diodes Incorporated PI3EQX2024 USB 3.2 ReDriver is a low-power, high-performance, Gen 2x2 linear ReDriver™ designed specifically for the USB 3.2 protocol. This device provides programmable equalization and flat gain to optimize performance over various physical mediums by reducing intersymbol interference. The PI3EQX2024 ReDriver features a 5Gbps and 10Gbps serial link with a linear equalizer and supports two 100Ω differential CML data I/Os. These I/Os connect the protocol ASIC to a switch fabric, either through cable or by extending the signals across other data paths on the user's platform. The PI3EQX2024 also includes an automatic receiver detect function and comes in a 34-pin, UQFN 2.5mm x 4.5mm (ZTF34) packaging. Ideally, this device is used in laptops, computers, smartphones, and storage applications.Features
- USB 3.2 Gen 2 and Gen 1 compatible
- USB 3.2 Gen 2x2 compatible
- 5Gbps and 10Gbps serial link with linear equalizer
- Pin adjustable receiver equalization
- Pin adjustable flat gain
- 3.3V single supply voltage
- 100Ω differential CML I/Os
- Four 10Gbps differential signal pairs
- Auto slumber mode for adaptive power management
- Automatic receiver detect
- Patented technology
- Totally lead-free and fully RoHS compliant
- Halogen and antimony free
- Pb-free and "Green" device
- 34-pin, UQFN 2.5mm x 4.5mm (ZTF34) packaging
Applications Overview
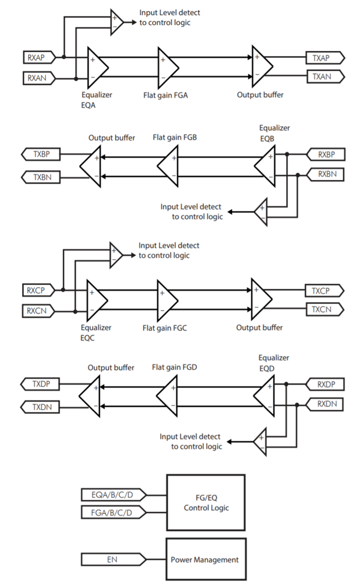
Block Diagram
發佈日期: 2022-03-10
| 更新日期: 2022-05-30
