Diodes Incorporated PI4ULS3V4857 Dual Voltage Level Translator
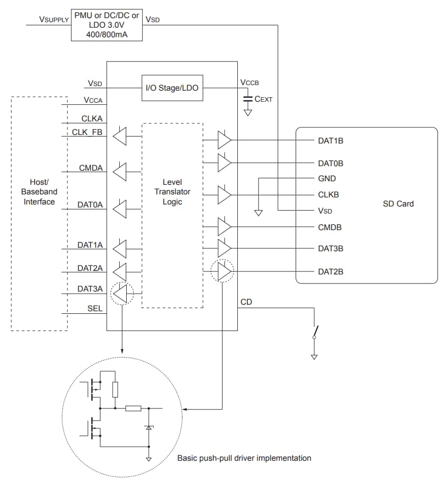
Diodes Incorporated PI4ULS3V4857 Dual Voltage Level Translator is an SD 3.0-compliant bidirectional translator without direction pin control. This dual translator translates memory card voltages from 1.2V to 1.8V signal level range from the host side to 1.8V or 3.0V signal levels. The PI4ULS3V4857 dual translator offers voltage translation that supports SDR104, SDR50, DDR50, SDR25, SDR12, high-speed, and default-speed modes. This dual voltage translator provides a built-in 100mA low dropout voltage regulator to supply the voltage of the memory card I/Os.Features
- Supports up to 208MHz clock rate
- Supports 1.2V to 1.8V host-side interface voltage range
- Automatic enable and disable through VSD supply pin
- Integrated pull-up and pull-down resistors
- Integrated EMI filters for digital I/Os
- Built-in 100mA low dropout voltage regulator
Applications
- Smartphones
- Mobile handsets
- Digital cameras
- Tablet PCs
- Laptop computers
- SD, MMC, or microSD card readers
Block Diagram
發佈日期: 2020-09-17
| 更新日期: 2024-08-15
