Microchip Technology DSC12X2/3/4 Standard Clock Oscillators
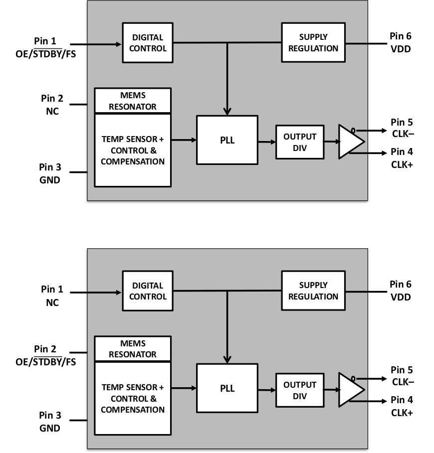
Microchip Technology DSC12X2/3/4 Standard Clock Oscillators use silicon MEMS technology to reduce close-in noise and provide excellent jitter. The oscillators offer stability over a wide range of supply voltages and temperatures. These MEMS oscillators eliminate the need for quartz or SAW technology. This significantly enhances reliability and accelerates product development. The devices meet stringent clock performance criteria for various communications, storage, and networking applications.Features
- <650fs (typ.) very low RMS phase jitter
- ±20ppm, ±25ppm, ±50ppm high stability
- Wide temperature range
- -40°C to +125°C (DSC12x3 LVDS only) automotive
- -40°C to +105°C extended industrial
- -40°C to +85°C industrial
- -20°C to +70°C commercial
- Supports LVPECL, LVDS, or HCSL differential outputs
- PCIe Gen1-5 compliant output
- 2.5MHz to 450MHz wide frequency range
- Small industry-standard footprints
- 2.5mm x 2.0mm
- 3.2mm x 2.5mm
- 5.0mm x 3.2mm
- 7.0mm x 5.0mm
- Excellent shock and vibration immunity
- Qualified to MIL-STD-883
- High reliability
- - 20x better MTF than Quartz Oscillators
- Supply range of 2.25V to 3.63V
- Standby, frequency select, and output enable functions
- Lead-Free and RoHS-compliant
Applications
- Storage area networks
- Passive optical networks
- 10/100G Ethernet
- HD/SD/SDI video and surveillance
- PCI Express Gen 1/2/3/4
- Display port
Block Diagram
發佈日期: 2022-10-03
| 更新日期: 2022-10-04
