EMC18xx溫度感測器具有電阻誤差校正 (REC)、Beta補償(用於支持需要BJT/電晶體模型的CPU二極體)及溫度變化率測量。除了監視多達五個溫度通道外,EMC18xx結合這些功能,為複雜的環境監控應用提供穩定的解決方案。
特點
- 運用優先提示限制以測量溫度變化率計算
- 多達四個外部溫度監視器:
- 8個引線裝置:±1°C最大精度(-20°C至+105°C TA 、-40°C至+125°C TD)
- ±1.5°C最大精度(-40°C至+125°C TA、-40°C至+125°C TD)
- 10個引線裝置:±1°C最大精度(-20°C至+125°C TA、-40°C至+125°C TD)
- ±1.5°C最大精度(-40°C至+125°C TA、-40°C至+125°C TD)
- 內部溫度感測器
- ±1°C最高精度、-40°C至+125°C
- 內部溫度感測器
- ±1°C最高精度、-40°C至+125°C
- 8個引線裝置:±1°C最大精度(-20°C至+105°C TA 、-40°C至+125°C TD)
- 溫度感測器解析度(內部/外部):0.125°C
- 電阻可編程系統關機溫度
- 可配置提醒引腳
- 運行電壓:1.62V至3.6V
- 溫度範圍:-40°C至+125°C
- 其它特性
- 自動測試補償
- 可配置理想因素
- 熱敏二極體比較
- 電阻錯誤校正
- 提供8引線2x2mm WDFN和10引線2.5x2.0mm VDFN封裝
應用
- 溫度敏感儲存
- 工業
- 用於低系統電壓的物聯網
- 便擕式電子
- 手持式遊戲
- 計算
- 食物儲存
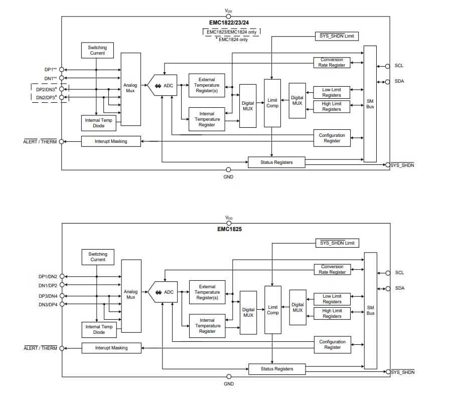
系統示意圖
結構圖
發佈日期: 2019-08-13
| 更新日期: 2023-06-05

