Microchip IS1870/71藍牙低功耗SoC提供簡易的整合和編程方式、更短的開發時間、具有低成本系統的優異藍牙低功耗解決方案、與Apple® iOS和Android™作業系統的互通性,以及廣泛的應用程式支援。
IS1870/71 SoC特別經過最佳化,可維持低功耗的無線連線,並針對穿戴式應用採用小尺寸封裝設計。
特點
-
符合藍牙智慧4.2藍牙低功耗標準
- 256 KB嵌入式快閃記憶體
- 支援UART/SPI/I2C介面
- 整合式晶體振盪器能與32 MHz的外部晶體一起運作
- 支援溫度感測器
- IS1870 SoC有31個通用型I/O (GPIO) 腳位,IS1871 SoC有15個GPIO腳位
- IS1870 SoC支援4通道脈寬調變 (PWM),IS1871 SoC支援1通道PWM
- 支援用於偵測電池和電壓的12位元ADC(ENOB=10或8位元)
- IS1870 SoC提供16通道ADC,IS1871 SoC提供6通道ADC
-
AES-CMAC硬體引擎
-
支援信標
- 低耗電量
- 小巧尺寸:
- IS1871採用4 mm x 4 mm 32QFN封裝
- IS1870採用6 mm x 6 mm 48QFN封裝
應用
-
物聯網 (IoT)
- 穿戴式裝置、健身與醫療保健
- 體重計
- 近接/裝置定位服務
- 加密付款
- 數位信標
- 消費性電器或家庭自動化
- 工業
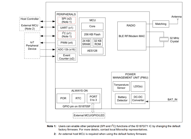
IS1870方塊圖
IS1871方塊圖
影片
發佈日期: 2021-03-15
| 更新日期: 2024-10-30

