Microchip Technology PIC16(L)F18426/46低腳位數MCU
Microchip PIC16(L)F18426/46低腳位數MCU結合了極低功率 (XLP) 和核心獨立周邊 (CIP)、智慧類比,以及適合各種應用的通訊周邊。這些MCU整合含運算功能的12位元類比轉數位轉換器 (ADC2)、裝置資訊區 (DIA)、記憶體存取分割區 (MAP) 和周邊裝置腳位選擇 (PPS)。PIC16(L)F18426/46低腳位數MCU擁有最高28kb的程式快閃記憶體、2kb資料SRAM記憶體,和256B資料EEPROM記憶體。這些MCU具備各種數位周邊,包括四個可程式邏輯單元 (CLC)、兩個互補波形產生器 (CWG),以及多達18個I/O腳位。其類比周邊則包含ADC、DAC、跨零偵測 (ZCD)、溫度感測器電路和固定電壓參考 (FVR) 模組。PIC16(L)F18426/46低腳位數MCU採用省電操作模式,CPU和周邊各以不同的週期速率運作。這些低腳位數MCU適用於各種一般用途和低功耗的應用。特點
- C編譯器最佳化的RISC架構
- 運作速度:
- 直流32MHz時脈輸入
- 125ns最低指令週期
- 中斷功能
- 16層深度硬體堆疊
- 計時器:
- 最多兩個24位元計時器
- 最多四個8位元計時器
- 最多四個16位元計時器
- 視窗型監視計時器 (WWDT):
- 可變除頻器選擇
- 可變視窗大小選擇
- 可從硬體和/或軟體設定
- 低電流開機重置 (POR)
- 可設定的開機計時器 (PWRT)
- 壓降重置 (BOR)
- 低功耗 BOR (LPBOR) 選項
- 記憶體:
- 最高28kb程式快閃記憶體
- 最高2kb資料SRAM記憶體
- 256位元組資料EEPROM
- 可程式程式碼保護
- 直接、間接與相對定址模式
- 記憶體存取分割區 (MAP):
- 寫入保護
- 可自訂分割區
- 作業電壓範圍:
- 1.8V至3.6V (PIC16LF184XX)
- 2.3V至5.5V (PIC16F184XX)
- 作業溫度範圍:
- -40ºC至85ºC(針對工業作業)
- -40ºC至125ºC(針對延伸作業)
- 省電操作模式:
- 休眠 - CPU和周邊各以不同的週期速率運作
- 閒置 - CPU在周邊運作時停滯
- 睡眠 - 功耗最低
- 極低功率模式 (XLP)
- 周邊模組停用 (PMD) - 可選擇性停用硬體模組,將未使用周邊的有效功耗降到最低
- 極低功率 (XLP) 功能:
- 睡眠模式 - 1.8V時為50nA
- 監視計時器 - 1.8V時為500nA
- 次要振盪器 - 32kHz時為500nA
- 作業電流:
- 32kHz、1.8V時為8µA
- 1.8V時為32µA/MHz
- 數位周邊:
- 可程式邏輯單元 (CLC):
- 4個CLC
- 整合式組合與循序邏輯
- 互補波形產生器 (CWG):
- 2個CWG
- 升緣與降緣停滯帶控制
- 全橋、半橋與1通道驅動器
- 多重訊號來源
- 捕捉/比較/PWM (CCP) 模組:
- 4個CCP
- 捕捉/比較模式為16位元解析度
- PWM模式為10位元解析度
- 脈寬調變器 (PWM):
- 2個10位元PWM
- 數值控制振盪器 (NCO):
- 0Hz<fNCO
- fNCO/220 解析度
- 周邊裝置腳位選擇 (PPS):
- 數位周邊的I/O腳位重新映射
- 序列通訊:
- EUSART:
- 1個EUSART
- RS-232、RS-485和LIN相容
- 自動鮑率偵測和啟動時自動喚醒
- 主要同步序列連接埠 (MSSP):
- 2個MSSP
- SPI
- I2C、SMBus和PMBus™相容
- EUSART:
- 資料訊號調變器 (DSM)
- 最多18個I/O腳位
- 計時器模組
- 可程式邏輯單元 (CLC):
- 類比周邊:
- 含運算功能的類比轉數位轉換器 (ADC2)
- 跨零偵測 (ZCD)
- 溫度感測器電路
- 比較器
- 數位轉類比轉換器 (DAC)
- 固定電壓參考 (FVR) 模組
- 彈性振盪器結構
- 高精度內部振盪器
- 4個PLL用於外部來源
- 2個PLL用於HFINTOSC
- 低功耗內部31kHz振盪器 (LFINTOSC)
- 外部32.768kHz晶體振盪器 (SOCS)
Additional Resources
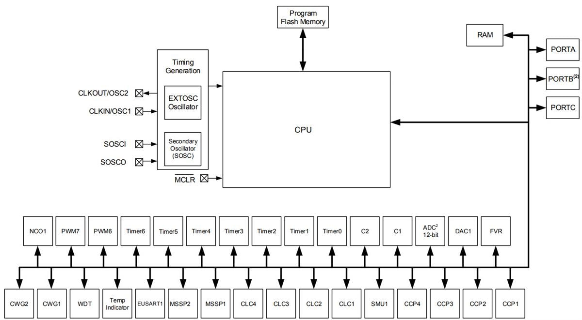
PIC16(L)F18426/46低腳位數MCU方塊圖
發佈日期: 2018-03-29
| 更新日期: 2022-10-03
