Nichicon UTH Miniature Aluminum Electrolytic Capacitors
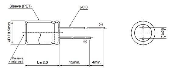
Nichicon UTH Miniature Aluminum Electrolytic Capacitors are high voltage and ripple current capacitors smaller than the previous UPT series. The capacitors feature a 5000-hour load life at +105°C and a 47μF to 200μF rated capacitance range. The UTH series is a radial lead type with a sleeve of PET material. The Nichicon UTH Miniature Aluminum Electrolytic Capacitors are RoHS compliant and operate within a -40°C to +105°C category temperature range.Features
- High ripple current
- High voltage
- Radial leaded
- Miniature-sized capacitors
- 5000-hour load life at +105°C
- RoHS compliant
Specifications
- 400V to 450V rated voltage range
- 47μF to 200μF rated capacitance range
- ±20% capacitance tolerance at 120Hz, +20°C
- 430mArms to 1040mArms rated ripple range
- -40°C to +105°C category temperature range
Dimensions (mm)
發佈日期: 2024-04-09
| 更新日期: 2025-01-27
