NXP Semiconductors NXH3670 Wireless Gaming Headphone Solution

NXP Semiconductors NXH3670 Wireless Gaming Headphone Solution is a low-latency, highly integrated, ultralow-power 2.4GHz wireless transceiver. The device features an embedded MCU and targets wireless audio streaming for gaming headsets at very low latency. The NXH3670 from NXP Semiconductors runs a proprietary audio streaming protocol optimized for gaming headset applications. This provides high-quality forward audio streaming at low latency (<20ms) and a simultaneous voice microphone backchannel. Additionally, a wireless data channel is available.

Features

  • BLUETOOTH® Low Energy 4.1 certified with proprietary audio streaming extension
  • Programmable TX output power of −10dBm to +4dBm in 2dB steps
  • Sensitivity −90dBm in Bluetooth LE 2 Mbps modulation mode and −94dBm in Bluetooth LE 1 Mbps modulation mode
  • Industry-lowest current consumption of RX current < 4mA at 1.2V and TX current < 7mA (0dBm output power) at 1.2V
  • Integrated audio interfaces and audio processing
  • WLCSP package < 7.25mm2 with 34 bumps
  • Low number of external passive components
  • Pb-free and compliant with RoHS Directive 2011/65/EU (RoHS 2)
  • -20°C to +85°C operating temperature range

Applications

  • Gaming headsets
  • Communication headsets
  • Wireless microphones
  • Wireless speakers

Videos

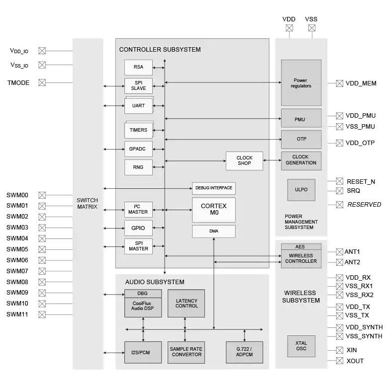
Block Diagram

Block Diagram - NXP Semiconductors NXH3670 Wireless Gaming Headphone Solution
發佈日期: 2019-02-22 | 更新日期: 2023-06-30