NXP Semiconductors PCA2131 Nano-Power CMOS Real Time Clock (RTC)
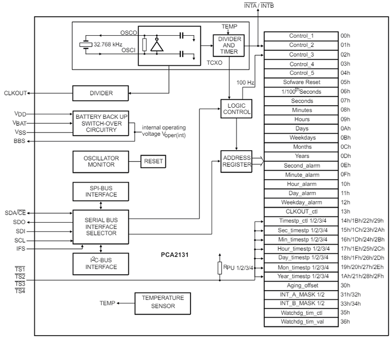
NXP Semiconductors PCA2131 Nano-Power CMOS Real Time Clock (RTC) is an RTC and calendar with an on-chip Temperature Compensated Crystal (Xtal) Oscillator (TCXO) and a 32.768kHz quartz crystal integrated into the same package. The AEC-Q100-compliant PCA2131 is optimized for very high accuracy and ultra-low power consumption. Address and data are transferred by a selectable 400kHz fast-mode I2C Bus or a 4-line SPI Bus (6.5Mbit/s maximum speed) with separate data input and output.The PCA2131 has a backup battery input pin and backup battery switch-over circuit that monitors the main power supply. The circuit automatically switches to the backup battery when a power failure condition is detected, maintaining accurate timekeeping even when the main power supply is interrupted. A battery low detection circuit monitors the battery's status. When the battery voltage drops below a particular threshold value, a flag indicates that the battery must be replaced soon. This ensures the integrity of the data during periods of battery backup. Other features include a programmable watchdog function, four timestamp functions, and many more.
Features
- AEC-Q100 compliant
- -40°C to +105°C operating temperature range
- Temperature Compensated Crystal Oscillator (TCXO) with trimmed integrated capacitors
- Clock operational up to +125°C
- Ultra-low 106nA typical supply current at VDD = 3.3V
- Temperature-compensated RTC typical accuracy
- ±3ppm from -40°C to +85°C
- ±8ppm from +85°C to +105°C
- Integrates a 32.768kHz quartz crystal and oscillator in the same package
- Provides year, month, day, weekday, hours, minutes, seconds, and 1/100 seconds
- Provides leap-year correction
- Timestamp function
- With interrupt capability
- Detection of four different events on four input pins (for example, for tamper detection)
- 2-line bidirectional 400kHz fast-mode I2C-bus interface
- 4-line SPI-bus with separate data input and output (maximum speed 6.5Mbit/s)
- Battery backup input pin and switch-over circuitry
- Battery-backed output voltage
- Battery low detection function
- Power-On Reset (POR)
- Power-On Reset Override (PORO) function
- Software reset function
- Two interrupt outputs (open-drain)
- Programmable 1-second or 1-minute interrupt
- Programmable watchdog timer with interrupt
- Programmable alarm function with interrupt capability
- Programmable square output
- 1.2V to 5.5V clock operating voltage
- HLSON16 package
- 4.5mm x 3.5mm x 1.45mm body, 0.5mm pitch
- 0.125 dimple wettable flank
- Thermally enhanced low profile small outline, no leads
Applications
- Electronic metering for electricity, water, and gas
- Precision timekeeping
- Access to accurate time of the day
- GPS equipment to reduce time to first fix
- Applications that require an accurate process timing
- Products with long automated unattended operation time
- Automotive
- Automotive high-performance compute
- Connected radios
- Digital clusters
- Smart car access
- V2X communications
Videos
Block Diagrams
發佈日期: 2024-05-22
| 更新日期: 2024-09-09
