Fairchild FL7733A Primary-Side-Regulated LED Driver

Fairchild FL7733A一次側調節LED驅動器

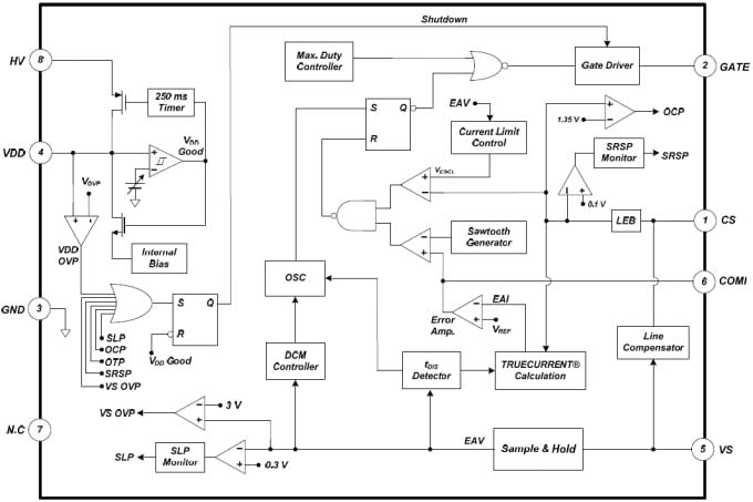
Fairchild FL7733A一次側調節LED驅動器是整合度更高的PWM控制器,採用先進的一次側調節(PSR)技術,能夠減少中低等功率LED照明轉換器元件數量。此款LED驅動器搭載創新的TRUECURRENT®技術,可輸出具嚴格公差的恒定電流,在通用線路電壓範圍內,可支援恒定電流公差小於±1%的設計,滿足嚴苛的LED亮度要求。FL7733A透過降低開機時間波動,能夠在通用線路範圍內實現高功率因數與較低的總諧波失真(THD)。整合式高電壓起動電路可提供快速起動功能和高系統效率。在起動期間,適應反饋迴路控制可預測穩態條件,並設定接近穩態的初始反饋條件,進而避免出現LED電流過衝或低差的情況發生。此外,FL7733A還可提供各式強大保護功能,例如LED短路/開啟、輸出二極體短路、感測電阻器短路/開啟及溫度過高保護,大幅提升系統可靠性。

產品特色
  • 效能
    • 所有條件下可達±3%總恒定電流公差
      • 通用線路電壓變化範圍內可達±1%;當負載電壓變化範圍在50%至100%時可達±1%
      • ±20%的磁化電感變化範圍內可達±1%
    • 一次側調節(PSR)控制,無需大容量輸入電容器和二次反饋電路,便可實現具成本效益之解決方案
    • 應用輸入電壓範圍:80VAC - 308VAC
    • 通用線路輸入範圍內,實現高達0.9的PF值與低至10%的THD值
    • 透過搭載VDD調節的內部高電壓起動,提供200ms快速起動功能(於85VAC)
    • 具適應性的反饋迴路控制,避免起動過衝

  • 系統保護
    • LED短路/開啟保護
    • 輸出二極體短路保護
    • 感測電阻器短路/開啟保護
    • VDD過電壓保護(OVP)
    • VDD低電壓鎖定(UVLO)
    • 溫度過高保護(OTP)
    • 所有保護功能皆可自動重新啟動(AR)
    • 週期性電流限制

  • 應用
    • 5W至60W以上的中低功率LED照明系統,可支援類比調光功能
eNews
Mouser.com評論

只要是精彩善意的互動,Mouser歡迎各位前往敝公司網站進行交流。為了讓討論的互動性更佳,請在此頁面發表與本主題相關的評論內容。所有評論都會先經過審閱之後才會公佈,以確保沒有不當的語言與內容。

  • ON Semiconductor
發佈日期: 2014-10-29 | 更新日期: 2022-03-11