Texas Instruments LP5899/LP5899-Q1 LED Drivers
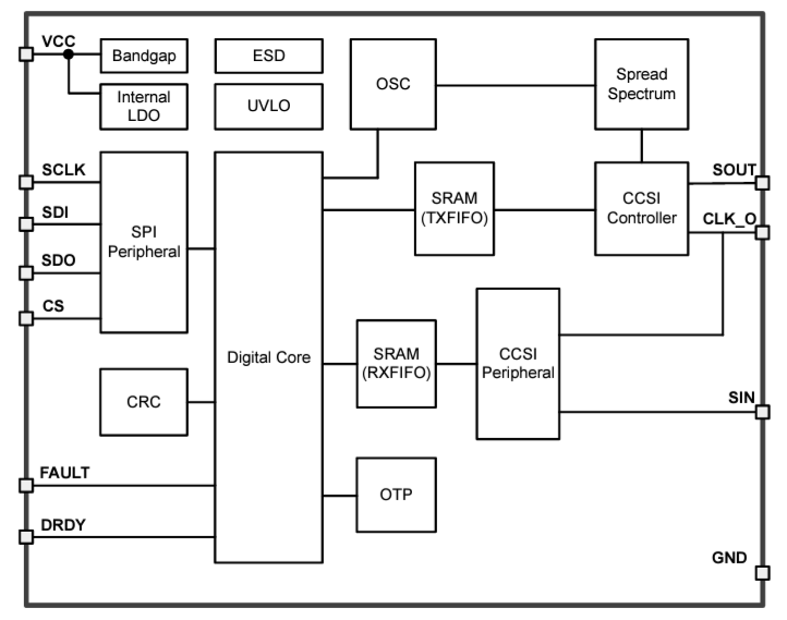
Texas Instruments LP5899/LP5899-Q1 LED Drivers are SPI-compatible devices with an internal oscillator to generate the continuous clock required by the LP589x/LP589x-Q1 family. These LED drivers incorporate reporting faults in the LP589x/LP589x-Q1 daisy chain and LP5899/LP5899-Q1 internal. The LP5899/LP5899-Q1 devices can drive any number of cascaded LED drivers of the LP589x/LP589x-Q1 family, and the LED driver limits the maximum number of cascaded devices. These LED drivers operate at -40°C to 125°C temperature range. The LP5899/LP5899-Q1 drivers are ideal for SPI-compatible connectivity for LP5891/LP5891-Q1 and LP5892/LP5892-Q1 devices. The Texas Instruments LP5899-Q1 devices are AEC-Q100 qualified for automotive applications.Features
- AEC-Q100 qualified for automotive applications:
- Grade 1:-40°C to 125°C ambient temperature range
- Device HBM classification level H3A
- Device CDM classification level C5
- 2.5V to 5.5V operating voltage VCC range
- SPI peripheral:
- Up to 20MHz data transfer rate
- Support multiple peripherals with one controller
- Continuous Clock Serial Interface (CCSI) controller and peripheral:
- Programmable clock jitter for EMI enhancement
- Diagnostics:
- Open-drain FAULT pin
- SPI communication loss detection
- CRC for SPI communication
- CCSI data integrity
- Data ready interrupt for availability of data
Applications
- SPI compatible connectivity for LP5891-Q1 and LP5892-Q1 devices
Application Diagram
Functional Block Diagram
發佈日期: 2025-01-13
| 更新日期: 2025-05-09
