Renesas RC190xxA PCIe Gen5/6時脈緩衝器和多工器提供廣大的操作溫度範圍,封裝尺寸小巧。
特點
- 低附加相位抖動
- 6fs RMS PCIe Gen5附加相位抖動
- 4fs RMS PCIe Gen6附加相位抖動
- <1.5ns最大輸入輸出傳播延遲
- 斷電容限 (PDT) 輸入和彈性啟動順序 (FSS)
- 自動時鐘停車 (ACP)
- 可透過腳位或SMBus選擇輸出迴轉率
- 4線側頻介面
- 9個可選的SMBus位址
- SMBus寫入保護
- 85Ω或100Ω輸出阻抗產品選項
- 支援:-40至+105°C,3.3V±10%
應用
- 雲端/高效能運算
- nVME儲存
- 網路
- 加速器
- 運算
- 工業
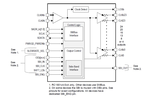
方塊圖
發佈日期: 2022-01-24
| 更新日期: 2022-07-21

