ROHM Semiconductor LAPIS ML86112 Video Decoder
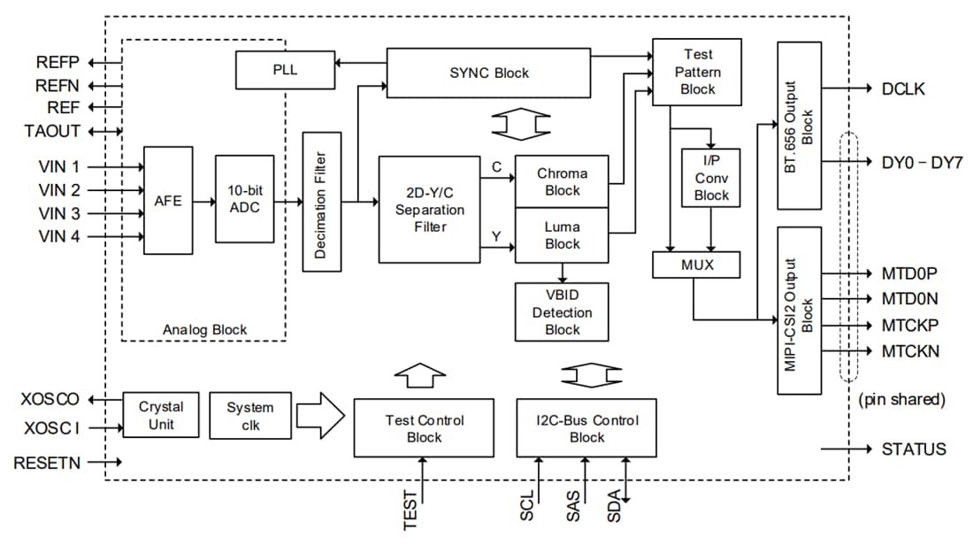
ROHM Semiconductor LAPIS ML86112 Video Decoder converts NTSC and PAL analog video signals into MIPI-CSI2 output or LVTTL output. This LSI has a built-in 1-channel 10-bit A/D converter and can accept two differential composite video inputs or four single-ended composite video inputs.The composite signal of the ROHM Semiconductor LAPIS ML86112 is separated into a luminance signal and a chrominance signal with a 2-dimensional Y/C separation filter, and these two signals are then output as digital video signals. The video signals are sampled with a line lock clock sampling method using the built-in PLL. The MIPI-CSI2 output format is YUV422 8-bit. The format of LVTTL is ITU-R BT.601/BT.656 YCbCr standard digital format.
Features
- Analog video decoder
- Input format
- NTSC-M, J, 443
- PAL-B, B1, D, G, H, I, K, M, N, Nc, 60
- Analog input port
- Single-end composite video input 4-ch
- Differential composite video input 2-ch
- Input format
- A/D converter is a 10-bit ADC
- Build-in oscillator buffer with an external crystal oscillator as a reference clock (32MHz or 25MHz)
- Sampling frequency
- NTSC(ITU-R BT.601): 27.0000MHz
- NTSC(Square pixel): 24.5454MHz
- NTSC(4fsc): 28.6363MHz
- PAL(ITU-R BT.601): 27.0000MHz
- PAL(Square pixel): 29.5000MHz
- Includes a line lock clock sampling method
- Y/C separation is an adaptive two-dimensional Y/C separation filter
- Luminance level adjustment is AGC (automatic gain control), MGC (manual gain control), or peak AGC
- Color level adjustment is ACC (automatic color control) or MCC (manual color control)
- Contrast adjustment is adjustable between 1/32 to 63/32 around 128
- Luminance offset adjustment is adjustable between -7IRE to 7IRE
- Contour compensation is emphasized at higher frequencies (luminance signal)
- Hue adjustment is adjustable between -180° to 180°
- CTI is color level change improved
- Automatic judgment of input video signal method is NTSC/PAL automatic recognition (in ITU-R BT.601 mode and NTSC4fsc mode)
- VBI data detection
- Closed caption for NTSC
- CGMS for NTSC
- WSS for PAL
- The IP conversion function is an intra-field interpolation
- The clock MIPI-CSI2 PLL uses line lock PLL as a reference clock
- Digital video output
- MIPI-CSI2 output or LVTTL output (BT.656) selectable
- Equipped with MIPI-CSI2 Transmitter (1 lane)
- Output format
- MIPI-CSI2 YUV422 8-bit
- Continuous clock operation
- Output can be stopped by external pin/register control (LP mode)
- LVTTL ITU-R BT.656-4 (YCbCr4:2:2 8-bit with synchronization information)
- MIPI-CSI2 YUV422 8-bit
- Output frequency
- MIPI-CSI2 - 196.4M to 472Mbps
- LVTTL
- 24.5454MHz to 59MHz (single-edge clock)
- 12.2727MHz to 29.5MHz (dual edge clock)
- Pixel frequency is 12.2727MHz to 29.5MHz
- The detection function includes input synchronization detection
- STATUS output has an open drain output (1.8V-3.6V external pull-up)
- Sleep function provides sleep by register control
- Host interface
- I2C slave, maximum 400kHz
- Slave address: 80h (1000_000x), 82h(1000_001x) selectable
- Power voltage
- I/O part 3.3V ± 0.3V
- Analog part (AFE/ADC) 3.3V ± 0.3V
- MIPI-Tx part (HS driver) 3.3V ± 0.3V
- Logic core part 1.2V ± 0.06V
- PLL part 1.2V ± 0.06V
- MIPI-Tx part (PLL/LP driver) 1.2V ± 0.06V
- I/O part 3.3V ± 0.3V
- -40°C to +105°C operational temperature (ambient temperature)
- Package
- 32-pin 0.5 pitch plastic WQFN (WQFN32-0505-0.50)
- Wettable frank, exposed PAD (back surface GND)
Applications
- Car navigation
- Display audio
- RSE (Rear Seat Entertainment)
Block Diagram
發佈日期: 2024-11-25
| 更新日期: 2024-12-31
