Toshiba TMPM471F10FG 32-bit Microcontroller
Toshiba TMPM471F10FG 32-bit Microcontroller is based on the Arm® Cortex®-M4 processor with FPU. This microcontroller operates from a 1MHz to 160MHz frequency range and a 4.5V to 5.5V voltage range. The TMPM471F10FG microcontroller supports firmware rotation using the memory swap function. This microcontroller includes a 1MB maximum flash memory capacity and maintains up to 100,000 program/erase cycles, supporting device functionality enhancements. The TMPM471F10FG microcontroller features a 12-bit Analog-to-Digital Converter (ADC), I2C interface version A (EI2C), and asynchronous serial interface (UART). This microcontroller is used in applications such as motor equipment, power conditioners, robots, washing machines, and refrigerators.Features
- Arm Cortex-M4 processor with FPU:
- 1MHz to 160MHz operating frequency range
- Memory Protection Unit (MPU)
- Low-power consumption mode:
- 4.5V to 5.5V operating voltage range
- IDLE, STOP1 low-power consumption operation
- Internal memory:
- 1MB code flash, rewritable up to 100,000 times
- Code flash area is rewritable in parallel with instruction execution on another code area
- 64KB RAM with parity
- Clock:
- 6MHz to 24MHz (Ceramic, Crystal) external high-speed oscillator
- 6MHz to 10MHz external high-speed clock input
- 10MHz user trimming function internal high-speed oscillator (IHOSC1)
- 160MHz output (system clock) PLL
- 12-bit Analog to Digital Converter (ADC):
- 23 inputs in 2 units
- 0.6µs conversion time
- Self-diagnosis support function
- Advanced programmable motor control circuit (A-PMD):
- 2 channels
- 3-phase complementary PWM output and synchronized with ADC
- Support 3-phase interleaved PFC control
- Emergency stop function by external inputs (EMG pin, OVV pin)
- 32-bit timer event counter (T32A):
- 5 channels as 32-bit timers and 10 channels as 16-bit timers
- Interval timer, event counter, input capture, phase difference input, PPG output, sync start, and trigger start
- Watchdog timer (SIWDT):
- 1 channel
- Clock system other than the system clock can be selected
- Clear window, interrupts, and reset output
Applications
- Industrial:
- Inverters
- Motor equipment
- Power conditioners
- Robots
- Consumer:
- Air-conditioners
- Washing machines
- Refrigerators
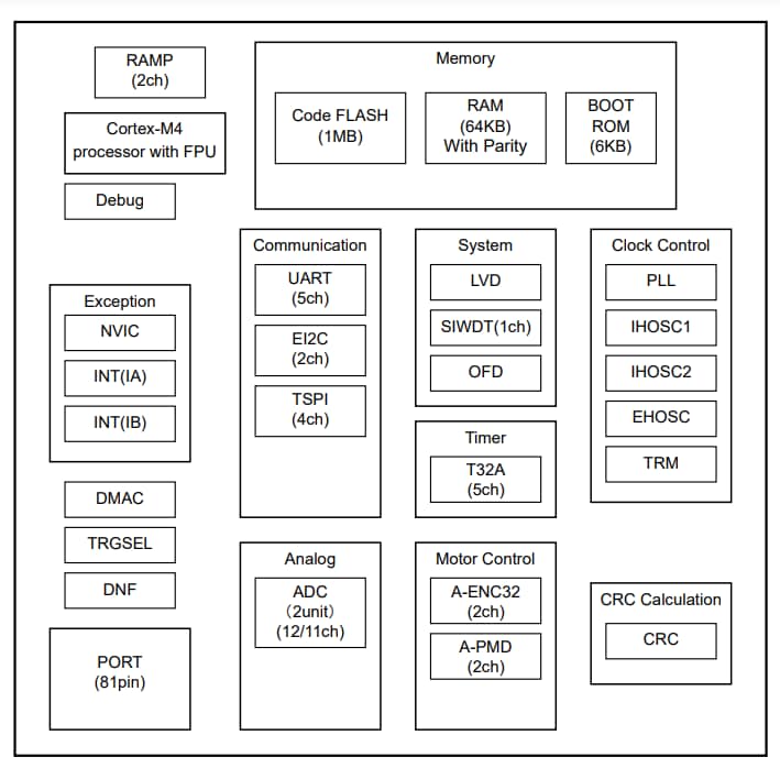
Block Diagram
發佈日期: 2025-02-21
| 更新日期: 2025-04-17
