特點
- 雙通道,用於生物電位訊號偵測與動作追蹤
- 1.62V至3.6V供電電壓範圍
- 獨立IO供電(1.62V至3.6V),用於I2C和SPI介面
- 用於MIPI I3C®介面的獨立IO供電(寬廣電壓範圍:1.08V至3.6V)
- 50µA(典型值)超低供電電流,斷電時為2.2µA
- 生物電位訊號偵測通道,具類比集線器
- 單通道差動輸入放大器 (vAFE)
- 可程式增益與輸入阻抗
- 12位元ADC解析度
- 僅使用類比集線器/vAFE通道時,ODR高達3200Hz
- 加速度計通道
- 低雜訊:低至220µg/√Hz
- ±2g/±4g/±8g/±16g可程式滿量程
- ODR:1.6Hz至800Hz
- 嵌入式機器學習核心,用於高達1.6kHz的類比集線器/vAFE資料
- 可程式有限狀態機,用於高達1.6kHz的類比集線器/vAFE資料
- 基於感測器處理輸出 (FSM/MLC) 的適應性自組態 (ASC)
- 嵌入式FIFO,最多128個加速度計與類比集線器/vAFE資料樣本,或256個低解析度加速度計資料樣本
- 高速I2C/SPI/MIPI I3C數位輸出介面
- 高階計步器、步進偵測器和步進計數器
- 自我測試
- 2.0mm x 2.0mm x 0.74mm(最大尺寸),LGA 12引線封裝
- 10000g高抗衝擊能力
- 符合ECOPACK規範與RoHS指令
應用
- 生物電位訊號偵測(ENG、ECG、EEG)
- 穿戴式與可攜式裝置
- 活動追蹤與健康
影片
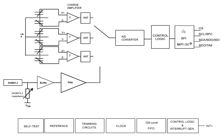
方塊圖
發佈日期: 2024-09-06
| 更新日期: 2025-05-08

