STMicroelectronics ST25R100 NFC/HF RFID Reader IC
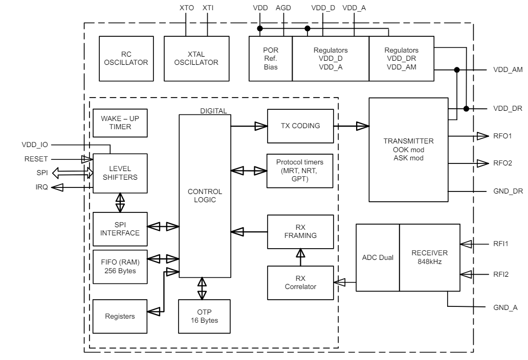
STMicroelectronics ST25R100 NFC/HF RFID Reader IC delivers high-end performance in a small 4mm x 4mm 24-pin TQFN package. This reader IC offers high output power with Dynamic Power Output (DPO), allowing easy integration into applications with small antennas. The ST25R100 reader IC includes an RC oscillator and a programmable timer to automatically scan for cards or other NFC-enabled devices while in WU mode. This reader IC features external communication interfaces, i.e., a Serial Peripheral Interface (SPI), with data transfer speeds of up to 6Mbit/s. The ST25R100 reader IC is designed to operate within the 2.7V to 5.5V wide power supply range and a -25°C to 85°C broad ambient temperature range. Typical applications include beauty and lifestyle, brand protection, accessory recognition, automatic parameter setting, identification, healthcare, and access control.Features
- Improved low power card detection based on inductive wake-up
- High output power with Dynamic Power Output (DPO)
- Option to connect two independent single-ended antennas
- Adjustable ASK modulation depth
- Automatic gain control and squelch feature to maximize signal-to-noise ratio
- Integrated regulators to boost system PSRR
- Measurement of antenna characteristics (I/Q channels)
- 256-byte FIFO
Applications
- Healthcare
- Access control
- Beauty and lifestyle
- Kitchen and home appliances
- Gaming and education
- Home automation and entertainment
- Industrial and tools
- IoT
- Brand protection
- Accessory recognition
- Automatic parameter setting
- Identification
- Metering
- Transportation and ticketing
- User interaction and consumer engagement
Specifications
- Serial Peripheral Interface (SPI) with data transfer speeds of up to 6Mbit/s
- Up to 6VP antenna driver voltage range
- 2.7V to 5.5V wide power supply range
- -25°C to 85°C broad ambient temperature range
- 4mm x 4mm 24-pin TQFN package
Block Diagram
Pin and Signal Description
發佈日期: 2024-06-26
| 更新日期: 2024-11-04
