STMicroelectronics STM3210E-EVAL Evaluation Board
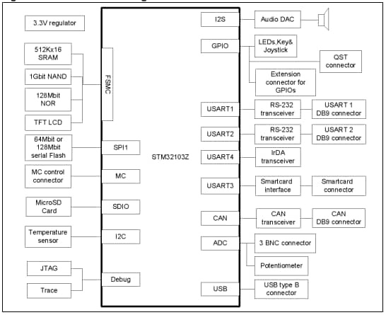
STMicroelectronics' STM3210E-EVAL evaluation board provides a complete development environment for STMicroelectronics' ARM™ Cortex-M3 core-based STM32F10x 128K microcontrollers (MCUs). The evaluation board includes full-speed USB2.0, CAN2.0A/B compliant interface, two I2C channels, two SPI channels, three USART channels with smart card support, JTAG, and SWD debugging, and an internal 20KB SRAM and 128KB Flash. Extension connections make it easy to connect a daughterboard or wrapping board for specific applications.Features
- Three 5V power supply options:
- Power Jack
- USB Connector
- Daughterboard
- Boot from user Flash, system memory, or SRAM
- I2S audio DAC, stereo audio jack
- 128Mbyte MicroSD Card™ or bigger
- Both A and B type smartcard support
- 64 or 128Mbit serial Flash, 512 Kx16 SRAM, 512Mbit or 1Gbit
- NAND Flash and 128Mbit NOR Flash
- I2C/SMBus compatible serial interface temperature sensor
- Two RS-232 channels with RTS/CTS handshake support on one channel
- IrDA transceiver
- USB 2.0 full speed connection
- CAN 2.0A/B compliant connection
- Inductor motor control connector
- JTAG and trace debug support
- 240x320 TFT color LCD
- Joystick with 4-direction control and selector
- Reset, wakeup, tamper, and user buttons
- 4 color LEDs
- RTC with backup battery
Block Diagram
發佈日期: 2008-07-11
| 更新日期: 2024-10-09
