STMicroelectronics VNHD7012AY H-Bridge Motor Driver
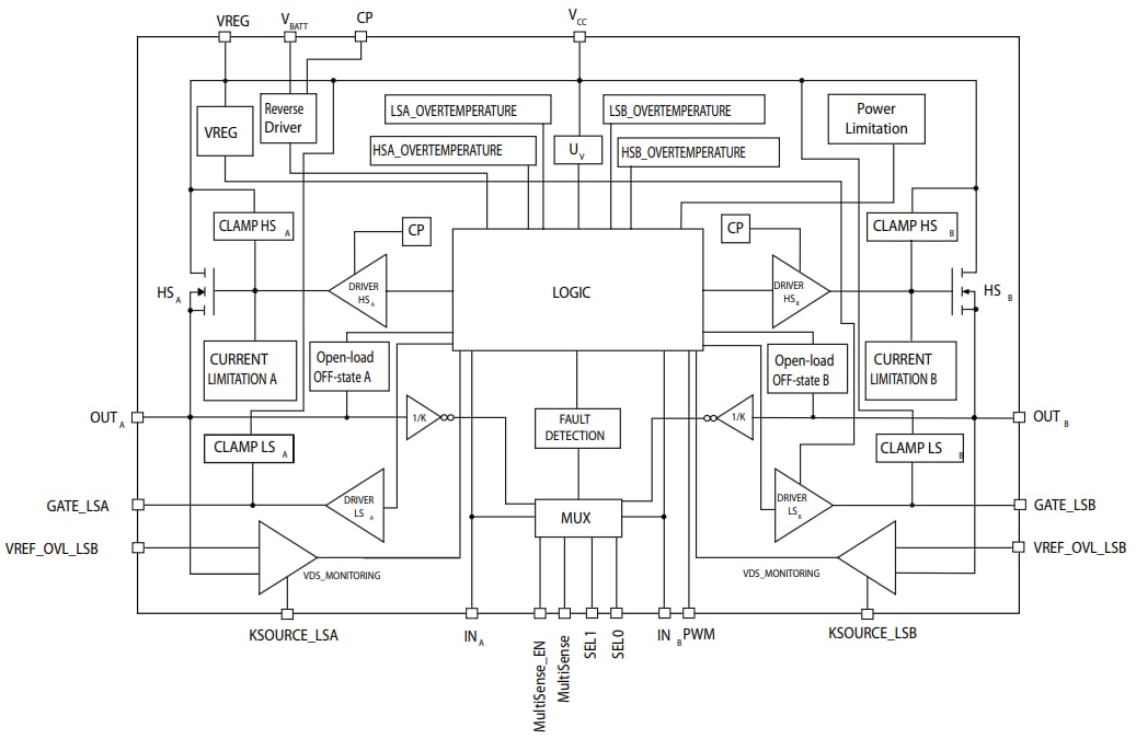
STMicroelectronics VNHD7012AY H-Bridge Motor Driver integrates a dual high-side driver and the drivers and protections for two external power MOSFETs in low-side configuration. The VNHD7012AY is designed using STMicroelectronics' VIPower® technology to efficiently integrate on the same die a true PowerMOSFET with an intelligent signal/protection circuitry. The STMicroelectronics VNHD7012AY H-Bridge Motor Driver is housed in a PowerSSO-36 exposed pad package to optimize dissipation performances.Features
- 38A output current
- Two integrated drivers for the external LSDs
- 3V CMOS compatible inputs
- Protections:
- Undervoltage shutdown
- Overvoltage clamp
- Thermal shutdown
- Load current limitation
- Self-limiting of fast thermal transients (Power Limitation)
- Cross current protection
- Shoot through protection
- Loss of ground and loss of VCC
- Electrostatic discharge protection
- Drain and source voltage monitoring of the external power MOSFETs, configurable via an external resistance (short-to-battery protection)
- PWM operation up to 20kHz for external LSDs
- MultiSense monitoring functions
- Analog motor current feedback
- Chip temperature monitoring
- Battery voltage monitoring
- MultiSense diagnostic functions
- Output short to ground detection
- Thermal shutdown indication
- OFF-state open-load detection
- Output short to VCC detection
- Standby mode
- Half-bridge operation
- Charge pump output for reverse battery protection
- Dual fully protected HSD with MultiSense feedback
- Package: ECOPACK®
- AEC-Q100 qualified
Videos
Block Diagram
發佈日期: 2018-12-03
| 更新日期: 2023-02-24
