Texas Instruments ADC3244E 14-bit Analog-to-Digital Converters
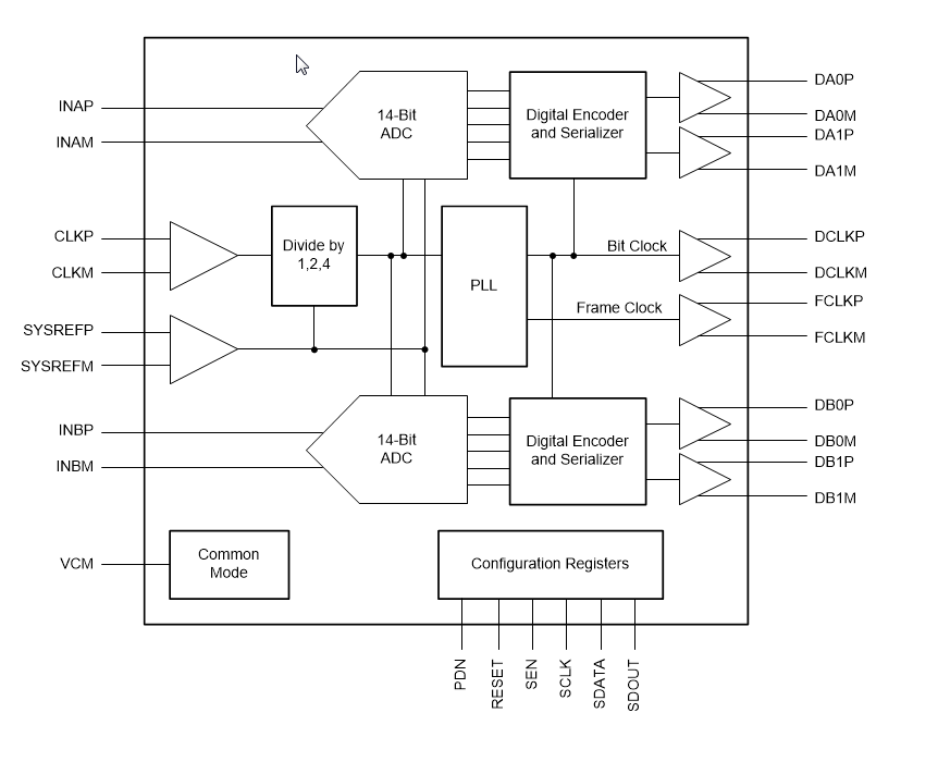
Texas Instruments ADC3244E 14-bit Analog-to-Digital Converters offer high-linearity, ultra-low power, dual-channel, 14-bit, and a 25MSPS to 125MSPS range. The ADC3244E is designed specifically to support demanding, high-input frequency signals with large dynamic range requirements. The Texas Instruments ADC3244E supports serial, low-voltage differential signaling (LVDS), reducing the number of interface lines and permitting high system integration density. The data from each ADC are serialized and output over two LVDS pairs. The device implements an internal phase-locked loop (PLL) that multiplies the incoming ADC sampling clock to gather the bit clock used to serialize the 14-bit output data from each channel. The frame, bit clocks, and serial data streams are transmitted as LVDS outputs. The device provides an input clock divider, allowing system clock architecture design more flexibility. Additionally, the SYSREF input enables complete system synchronization.Features
- Dual channel
- 14-bit resolution
- 1.8V single supply
- Serial LVDS interface (SLVDS)
- Flexible input clock buffer with divide-by-1, -2, -4
- SNR = 72.4dBFS, SFDR = 87dBc at fIN = 70MHz
- 116mW/Ch at 125MSPS ultra-low power consumption
- 105dB channel isolation
- Internal dither and chopper
- Support for multichip synchronization
- Pin-to-pin compatible with the 12-bit version
- VQFN-48 (7mm × 7mm) package
- –50°C to +105°C extended temperature range
Applications
- Multi-carrier, multi-mode cellular base stations
- Radar and smart antenna arrays
- Munitions guidance
- Motor control feedback
- Network and vector analyzers
- Communications test equipment
- Nondestructive testing
- Microwave receivers
- Software-defined radios (SDRs)
- Quadrature and diversity radio receivers
- Handheld radio and instrumentation
Block Diagram
發佈日期: 2019-03-20
| 更新日期: 2023-08-07
