Texas Instruments ADS130B04-Q1的各個ADC通道都可以根據感測器輸入進行單獨設定。低雜訊的可程式增益放大器 (PGA) 提供1至128的增益,可放大低位準訊號。此裝置具有全域斬波模式,可消除隨溫度變化和時間推移而產生的偏移漂移,並且還整合了低漂移1.2V基準和精密振盪器,有助於縮小印刷電路板 (PCB) 的面積。此裝置可對資料輸入、資料輸出和暫存器映射進行可選配的循環冗餘檢查 (CRC),藉此保持通訊的完整性。
完整的類比前端 (AFE) 採用20腳位的TSSOP封裝,適用於汽車級額定溫度範圍–40°C至+125°C。
特點
- 符合AEC-Q100汽車應用標準
- –40°C至+125°C,TA溫度等級1
- 具功能安全性
- 提供可協助設計功能安全系統的文件
- 2個同時取樣、差分輸入ADC
- 可程式資料傳輸速率:最高32kSPS
- 可程式增益:最高128
- 具備全域斬波模式,可消除隨溫度變化和時間推移而產生的偏移漂移
- 用於直接感測器連接的高阻抗類比輸入
- 整合式負電荷泵,允許測量低於接地的輸入訊號
- –120dB通道間串音
- 1.2V低漂移內部基準
- 精密內部振盪器
- 用於通訊和暫存器映射的CRC
- 2.7V至3.6V類比和數位電源
- 在3.3V AVDD和DVDD時,可達3mW的低耗電量
應用
- 汽車電池管理系統 (BMS)
- 電流分流測量
- 使用外部電阻分壓器測量電壓
- 使用熱敏電阻或類比輸出溫度感測器測量溫度
- 電動車充電站
- DC電子計量
- 能源儲存系統 (ESS)
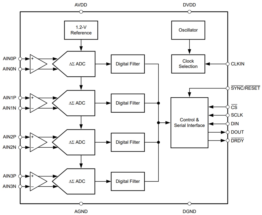
功能方塊圖
發佈日期: 2022-01-18
| 更新日期: 2025-03-05

