Texas Instruments bq76905 Low-Power Monitor & Protector
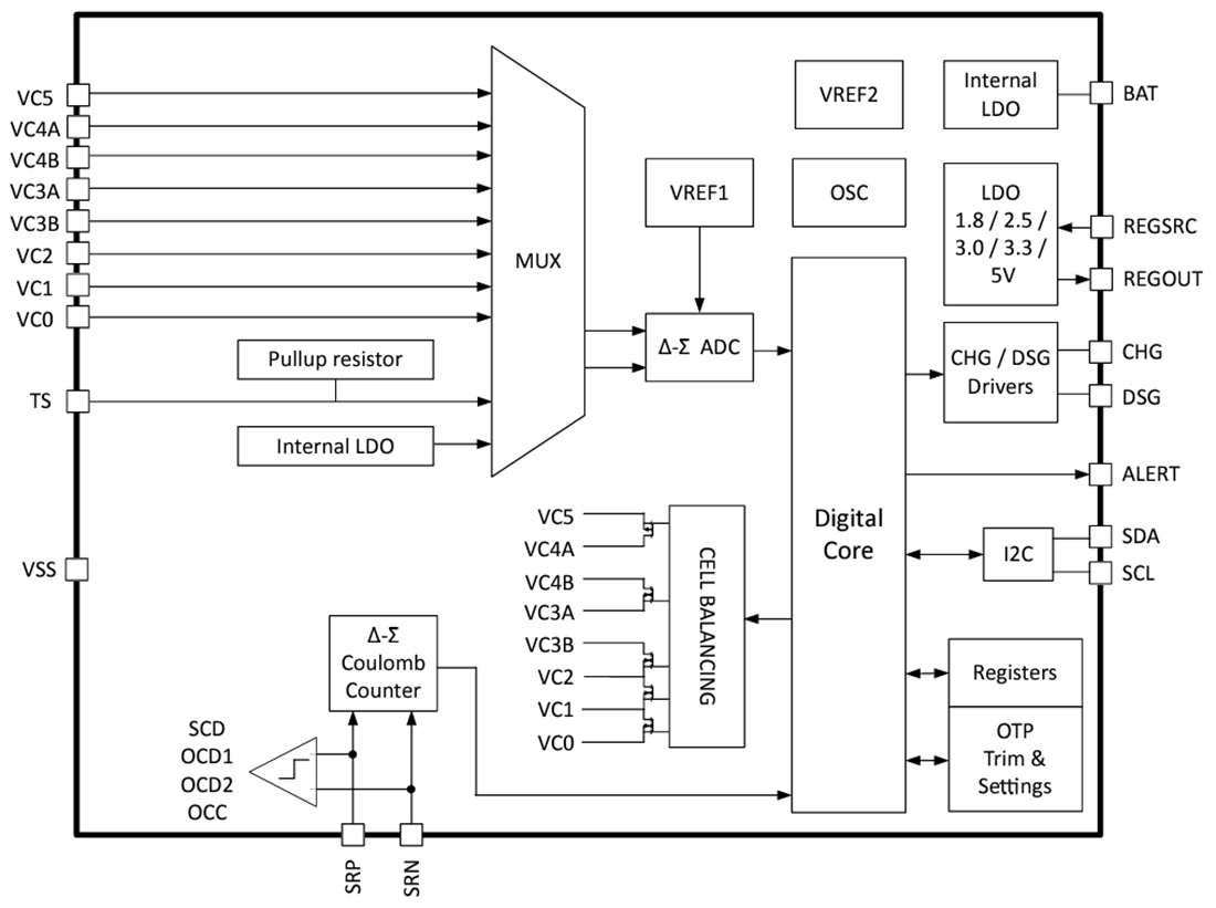
Texas Instruments bq76905 Low-Power Monitor and Protector provides a highly integrated, high-accuracy battery monitor and protector for 2-series to 5-series Li-ion, Li-polymer, LiFePO4 (LFP), and LTO battery packs. Each device includes a high-accuracy monitoring system, a highly configurable protection subsystem, and support for host-controlled cell balancing. Integration has low-side protection NFET drivers, a programmable LDO for external system use, and an I2C host communication interface supporting up to 400kHz operation with optional CRC. The Texas Instruments bq76905 is available in a 20-pin QFN package.Features
- Battery monitoring capability for 2-series to 5-series cells
- Integrated low-side drivers for NFET protection with optional autonomous recovery
- Extensive protection suite including voltage, temperature, current, and internal diagnostics
- 16-bit delta-sigma voltage ADC
- High-accuracy cell voltage measurement of 4mV (typical)
- A dedicated simultaneous 16- and 24-bit delta-sigma coulomb counter ADC
- High-accuracy current measurement with low input offset error
- Wide-range current applications (±200mV measurement range across sense resistor)
- 48-bit accumulated charge integrator with timer
- Multiple power modes (typical battery pack operating range conditions)
- NORMAL mode: 32µA to 175µA
- SLEEP mode: 6µA
- DEEPSLEEP mode: 2.7µA
- SHUTDOWN mode: < 1µA
- Host-controlled cell balancing
- High voltage tolerance of 45V on cell connect and select additional pins
- Support for temperature sensing using an internal sensor and external thermistor
- Integrated one-time-programmable (OTP) memory for device settings, programmed by TI
- 400kHz I2C serial communications with optional CRC support
- Programmable LDO for external system usage
- 20-pin QFN (RGR) package
Applications
- Cordless power tools and garden tools
- Vacuum cleaners
- Non-military drones
- Other industrial battery pack (2 series to 5 series)
Functional Block Diagram
發佈日期: 2024-02-05
| 更新日期: 2024-02-12
