自動化PWM/PFM(AUTO模式)作業搭配自動相位新增/分離,能在寬廣的輸出電流範圍內達到最高效率。LP8732xx-Q1/LP8733xx-Q1支援遠端電壓感測(雙相組態中的差分),可補償穩壓器輸出與負載點 (POL) 間的IR下降,進而改善輸出電壓的準確度。也可將切換時脈強制設為PWM模式,與外部時脈同步,將干擾減到最低。
LP8732xx-Q1/LP8733xx-Q1支援可程式的啟動和關機延遲與順序,包括將GPO訊號同步至啟用訊號。裝置可在啟動和電壓變動期間控制輸出旋轉率,將輸出電壓過衝和湧浪電流降到最低。
特點
- 符合AEC-Q100標準
- 裝置溫度Grade 1:-40°C至+125°C環境運作溫度
- 輸入電壓:2.8V至5.5V
- 兩個高效率的降壓DC/DC轉換器
- 輸出電壓:0.7V至3.36V
- 每相最高輸出電流2A (LP8732xx-Q1) 或3A (LP8733xx-Q1)
- 自動相位新增/分離和雙相組態下的強制多相位作業
- 雙相組態下的遠端差分回饋電壓感測
- 可程式的輸出電壓旋轉率,介於0.5 mV/µs至10 mV/µs
- 2 MHz切換頻率
- 可減少EMI的展頻模式和相位交錯
- 兩個線性穩壓器
- 輸入電壓:2.5V至5.5V
- 輸出電壓:0.8V至3.3V
- 最大輸出電流300 mA
- 可設定的通用型輸出訊號(GPO、GPO2)
- 中斷功能,含可程式遮罩
- 可程式電力良好訊號 (PGOOD)
- 輸出短路和過載保護
- 過熱警報與保護
- 過電壓保護 (OVP) 和欠壓鎖定 (UVLO)
- 28腳位,5 mm × 5 mm VQFN封裝,含可潤濕側翼
應用
- 汽車中控台與儀表板
- 汽車攝影機模組
- 環景系統ECU
- 雷達系統ECU
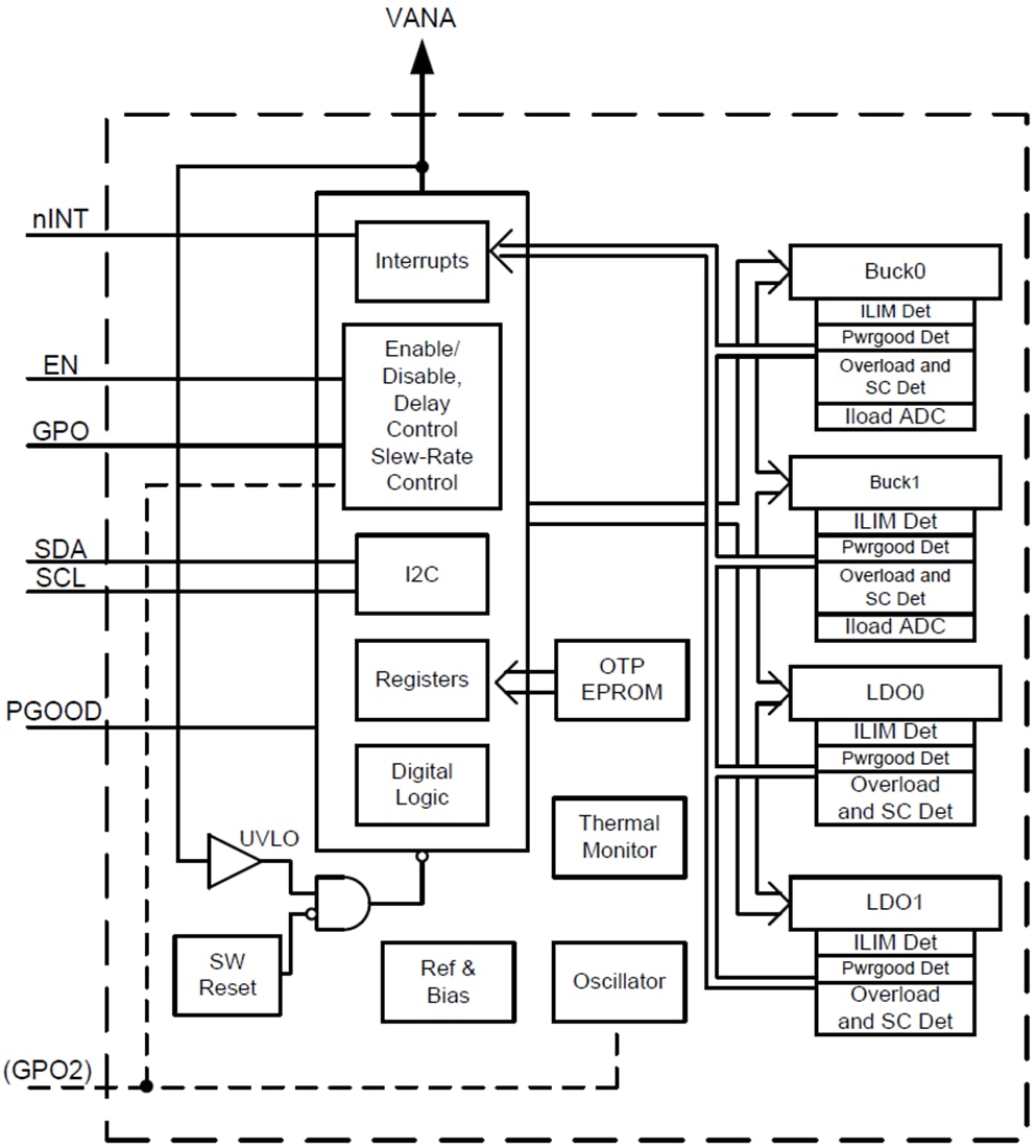
功能方塊圖
發佈日期: 2018-10-31
| 更新日期: 2023-07-18

