TI MSP430F563x 混合訊號微控制器提供高性能 12 位 ADC、比較器、兩個 USCI、USB 2.0、硬體乘法器、DMA、四個 16 位定時器、一個具有警報功能的 RTC 模組,以及多達 74 個 I/O 引腳。
特點
- 低電源電壓範圍:1.8V 至 3.6V
- 超低功耗
- 有源模式 (AM):
- 所有系統時鐘在 8MHz、3.0V、閃存程式執行(典型值)時以 270µA/MHz 有源
- 待機模式 (LPM3):
- 具有晶體和電源監控功能的看門狗,全面 RAM 保留,2.2V 時喚醒速度為 1.8µA,3.0V 時為 2.1µA (典型值)
- 關機實時時鐘 (RTC) 模式 (LPM3.5) 1.1µA 為 3.0V(典型值)關機模式,附帶晶體的有源 RTC
- 0.3µA(典型值)關機模式 (LPM4.5)
- 有源模式 (AM):
- 在 3µs(典型值)中從待機模式中喚醒
- 16 位元 RISC 架構,擴展內存,最高至 20MHz 系統時鐘
- 靈活電源系統管理
- 附可編程調製核心電源電壓的全集成 LDO
- 電源電壓監管、控制和降壓
- 統一時鐘系統
- 用於頻率穩定的 FLL 控制迴路
- 低功率、低頻內部時鐘源 (VLO)
- 低頻微調內部參考源 (REFO)
- 32kHz 晶體 (XT1)
- 高達 32MHz (XT2) 的高頻晶體
- 四個 16 位計時器,具有 3、5 或 7 個捕捉/比較寄存器
- 兩個通用串行通訊介面 (USCI)
- USCI_A0 和 USCI_A1 每個支持增強 UART 支持自動波特酸檢測、IrDA 編碼器和解碼器、同步 SPI
- USCI_B0 和 USCI_B1 均支持 I2C 和同步 SPI
- 全速通用串聯區流排 (USB) 介面
- 整合式 USB-PHY
- 整合式 3.3V 和 1.8V USB 電源系統
- 整合式 USB-PLL
- 八個輸入和八個輸出端點
- 12位元類比至數位轉換器 (ADC)、內部參考、取樣和保持及自動掃描功能
- 雙路 12 位數位至類比轉換器 (DAC),具有同步功能
- 電壓比較器
- 硬件乘法器支持 32 位操作
- 串聯板上編程,無需外部編程電壓
- 6 通道內部 DMA
- 具有電源電壓備份開關的 RTC 模組
應用
- 類比及數位感應系統
- 數位電機控制
- 遙控器
- 恒溫器
- 數位定時器
- 手提式儀錶
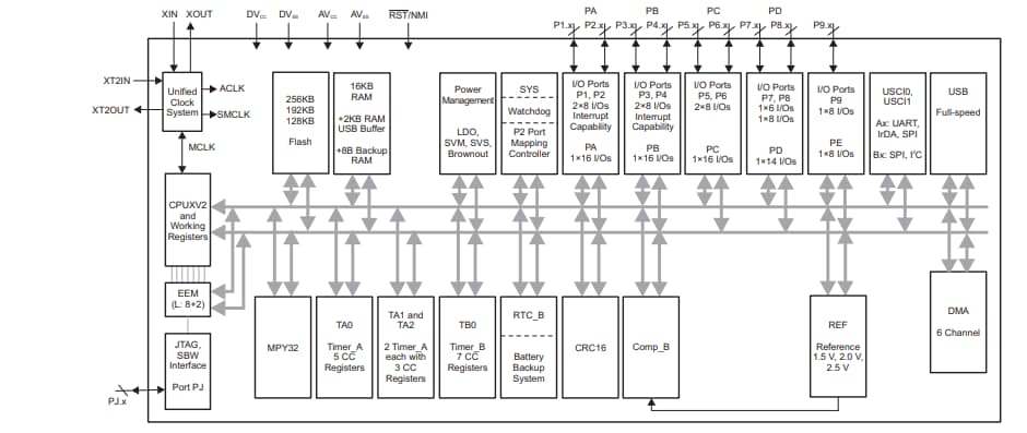
MSP430F5630/31/32 結構圖
MSP430F5633/34/35 結構圖
MSP430F5636/37/38 結構圖
發佈日期: 2020-10-20
| 更新日期: 2025-07-31

