Texas Instruments MSP430F663x Mixed-Signal Microcontrollers
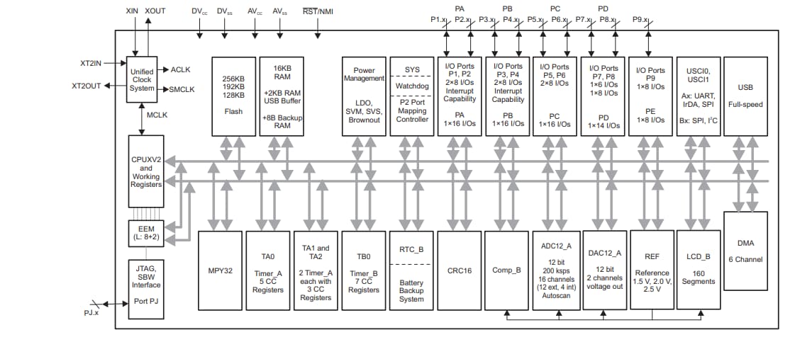
Texas Instruments MSP430F663x Mixed-Signal Microcontrollers offer several devices featuring different sets of peripherals targeted for various applications. Five low-power modes, combined with the 16-bit RISC architecture, are optimized for extended battery life in portable measurement applications. The MSP430F663x features a powerful 16-bit RISC CPU, 16-bit registers, and constant generators, contributing to maximum code efficiency. The digitally controlled oscillator (DCO) allows the device to wake up from low-power modes to active mode in 3µs (typical).The TI MSP430F663x Mixed-Signal Microcontrollers devices are microcontrollers with a high-performance 12-bit ADC, a comparator, two USCIs, USB 2.0, a hardware multiplier, DMA, four 16-bit timers, an RTC module with alarm capabilities, an LCD driver, and up to 74 I/O pins.
Features
- Low supply voltage range of 1.8V to 3.6V
- Ultra-low power consumption
- Active mode (AM):
- All system clocks active at 270µA/MHz at 8MHz, 3.0V, flash program execution (typical)
- Standby mode (LPM3):
- Watchdog with crystal and supply supervisor operational, full RAM retention, fast wake-up of 1.8µA at 2.2V, 2.1µA at 3.0V (typical)
- Shutdown real-time clock (RTC) mode (LPM3.5) 1.1µA at 3.0V (typical) Shutdown mode, active RTC with crystal
- 0.3µA at 3.0V (typical) Shutdown mode (LPM4.5)
- Active mode (AM):
- Wake up from standby mode in 3µs (typical)
- 16-bit RISC architecture, extended memory, up to 20MHz system clock
- Flexible power-management system
- Fully integrated LDO with programmable regulated core supply voltage
- Supply voltage supervision, monitoring, and brownout
- Unified clock system
- FLL control loop for frequency stabilization
- Low-power, low-frequency internal clock source (VLO)
- Low-frequency trimmed internal reference source (REFO)
- 32kHz crystals (XT1)
- High-frequency crystals up to 32MHz (XT2)
- Four 16-bit timers with 3, 5, or 7 capture/compare registers
- Two universal serial communication interfaces (USCIs)
- USCI_A0 and USCI_A1 each support - Enhanced UART supports automatic baud rate detection, IrDA encoder and decoder, synchronous SPI
- USCI_B0 and USCI_B1 each support the I2C and synchronous SPI
- Full-speed universal serial bus (USB)
- Integrated USB-PHY
- Integrated 3.3V and 1.8V USB power system
- Integrated USB-PLL
- Eight input and eight output endpoints
- 12-bit analog-to-digital converter (ADC) with internal shared reference, sample-and-hold, and auto-scan feature
- Dual 12-bit digital-to-analog converters (DACs) with synchronization
- Voltage comparator
- Integrated liquid crystal display (LCD) driver with contrast control for up to 160 segments
- Hardware multiplier supports 32-bit operations
- Serial onboard programming, no external programming voltage needed
- 6-channel internal DMA
- RTC module with supply voltage backup switch
Applications
- Analog and digital sensor systems
- Digital motor control
- Remote controls
- Thermostats
- Digital timers
- Hand-held meters
MSP430F6630/31/32 Block Diagram
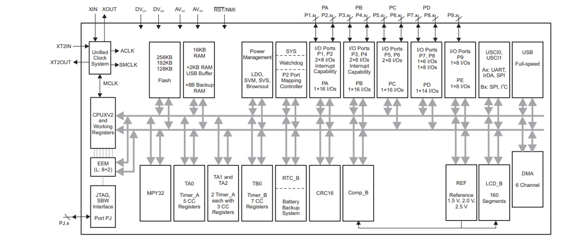
MSP430F6633/34/35 Block Diagram
MSP430F6636/37/38 Block Diagram
發佈日期: 2020-10-21
| 更新日期: 2025-04-16
