Texas Instruments SN74AC244/SN74AC244-Q1 Octal Buffers/Drivers
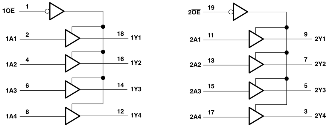
Texas Instruments SN74AC244/SN74AC244-Q1 Octal Buffers/Drivers are explicitly designed to improve the performance and density of 3-state memory address drivers, clock drivers, and bus-oriented receivers and transmitters. The SN74AC244/SN74AC244-Q1 devices are organized as two 4-bit buffers or drivers with separate output-enable (OE) inputs. When OE is low, the device passes non-inverted data from the A inputs to the Y outputs. When OE is high, the outputs are in the high-impedance state. The Texas Instruments SN74AC244-Q1 devices are AEC-Q100 qualified for automotive applications.Features
- Operation of 2V to 6V VCC
- Inputs accept voltages to 6V
- Max tpd of 7.5ns at 5V
Applications
- Servers and network switches
- LED displays
- Telecom infrastructure
- Motor-drive control boards
Logic Diagram
發佈日期: 2023-10-27
| 更新日期: 2025-04-29
