Texas Instruments TAS6421-Q1 Automotive Burr-Brown™ Audio Amplifiers
Texas Instruments TAS6421-Q1 Automotive Class-D Burr-Brown™ Audio Amplifiers implement a 2.1MHz PWM switching frequency, enabling a cost-optimized solution for a tiny PCB size. The TAS6421-Q1 features full operation down to 4.5V for start/stop events and exceptional sound quality with up to 40kHz audio bandwidth. The TAS6421-Q1 is footprint and pin-compatible with the TAS642x-Q1 audio amplifiers, allowing for the flexibility to support multiple system configurations with minimal redesign effort. Texas Instruments TAS6421-Q1 Automotive Burr-Brown Audio Amplifiers provide one channel at 27W into 4Ω at 10% THD+N, 45W into 2Ω at 10% THD+N from a 14.4V supply or 75W into 4Ω at 10% THD+N from a 25V supply. The TAS6421-Q1 devices are AEC-Q100 qualified for automotive applications.Features
- Advanced load diagnostics
- DC diagnostics run without input clocks
- AC diagnostic for tweeter detection with impedance and phase response
- Easily meet CISPR25-L5 EMC specification
- AEC-Q100 qualified for automotive applications
- Temperature grade: –40°C to +125°C
- Audio inputs
- I2S or 4/8-channel TDM input
- Input sample rates: 44.1kHz, 48kHz, 96kHz
- Input formats: 16-bit to 32-bit I2S and TDM
- Audio outputs
- Single-channel bridge-tied load (BTL)
- Up to 2.1 MHz output switching frequency
- 27W, 10% THD Into 4Ω at 14.4V BTL
- 45W, 10% THD Into 2Ω at 14.4V BTL
- Audio performance into 4Ω at 14.4V BTL
- THD+N < 0.02% at 1W
- 42µVRMS output noise
- –90dB crosstalk
- Load diagnostics with host-independent operation
- Output open and shorted load
- Output-to-battery or ground shorts
- Line output detection up to 6kΩ
- Protection
- Output current limiting and short protection
- 40V load dump
- Open ground and power-tolerant
- Overtemperature warning and shutdown
- Undervoltage and overvoltage, DC offset
- General operation
- 4.5V to 26.4V supply voltage
- I2C control with four address options
- Clip detection (latching or non-latching)
Applications
- Automotive head unit and external amplifiers
- eCall (emergency call)
- Virtual engine sound systems (VESS)
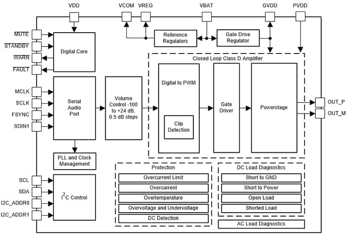
Block Diagram
發佈日期: 2019-11-26
| 更新日期: 2025-03-05
