Texas Instruments TAS6424MS-Q1 Class-D Audio Amplifier
Texas Instruments TAS6424MS-Q1 Class-D Audio Amplifier is a four-channel digital input Class-D audio amplifier that implements a 2.1MHz PWM switching frequency. This feature enables a cost-optimized solution in a tiny PCB size, full operation down to 4.5V for start/stop events, and exceptional sound quality with up to 40kHz audio bandwidth. The output switching frequency can be set either above the AM band, which eliminates AM-band interferences and reduces output filtering and cost, or below the AM band to optimize efficiency.The Texas Instruments TAS6424MS-Q1 has a built-in load diagnostic function for detecting and diagnosing misconnected outputs and AC-coupled tweeters, helping to reduce test time during the manufacturing process. The TAS6424MS-Q1 Class-D audio amplifier is designed for automotive head units and external amplifier modules.
Features
- AEC-Q100 Qualified for automotive applications
- –40°C to +125°C TA temperature grade 1
- Advanced load diagnostics
- DC Diagnostics run without input clocks
- AC Diagnostic for tweeter detection with impedance and phase response
- Easily meets CISPR25-L5 EMC specifications
- Audio inputs
- 4 Channel I2S or 4/8-channel TDM input
- 44.1kHz, 48kHz, and 96kHz input sample rates
- 16-bit to 32-bit I2S, and TDM input formats
- Audio Outputs
- Four-channel bridge-tied load (BTL)
- Two-channel parallel BTL (PBTL)
- Up to 2.1MHz output switching frequency
- 27W, 10% THD Into 4Ω at 14.4V BTL
- 45W, 10% THD Into 2Ω at 14.4V BTL
- 80W, 10% THD Into 2Ω at 18V PBTL
- Audio performance into 4Ω at 14.4V BTL
- THD+N < 0.02% at 1W
- 42µVRMS output noise
- –90dB crosstalk
- Load diagnostics
- Output open and shorted load
- Output-to-battery or ground shorts
- Line output detection up to 6kΩ
- Host-independent operation
- Protection
- Output current limiting and short protection
- 40V load dump
- Open ground and power-tolerant
- DC offset
- Over-temperature
- Undervoltage and overvoltage
- General Operation
- 4.5V to 18V supply voltage
- I2C control with four address options
- Latched and non-latched clip detect
Applications
- Automotive head unit
- Automotive external amplifier
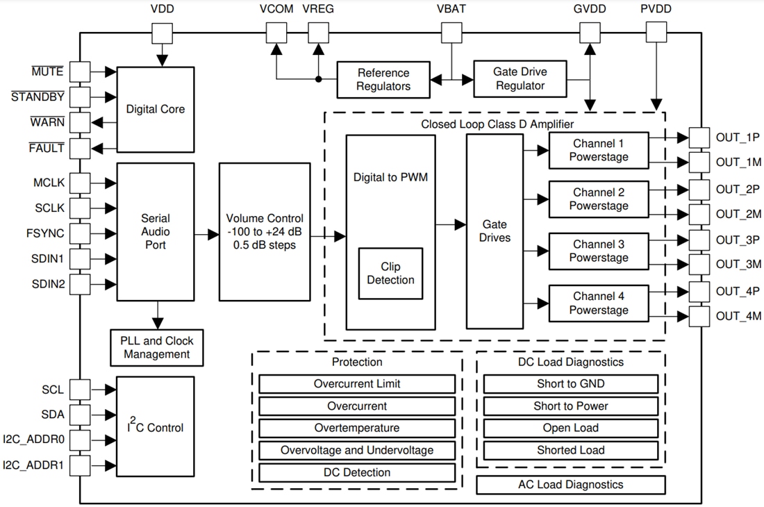
Functional Block Diagram
發佈日期: 2020-12-01
| 更新日期: 2025-02-27
