Texas Instruments TLVx197-Q1 High-Voltage Precision Op Amps
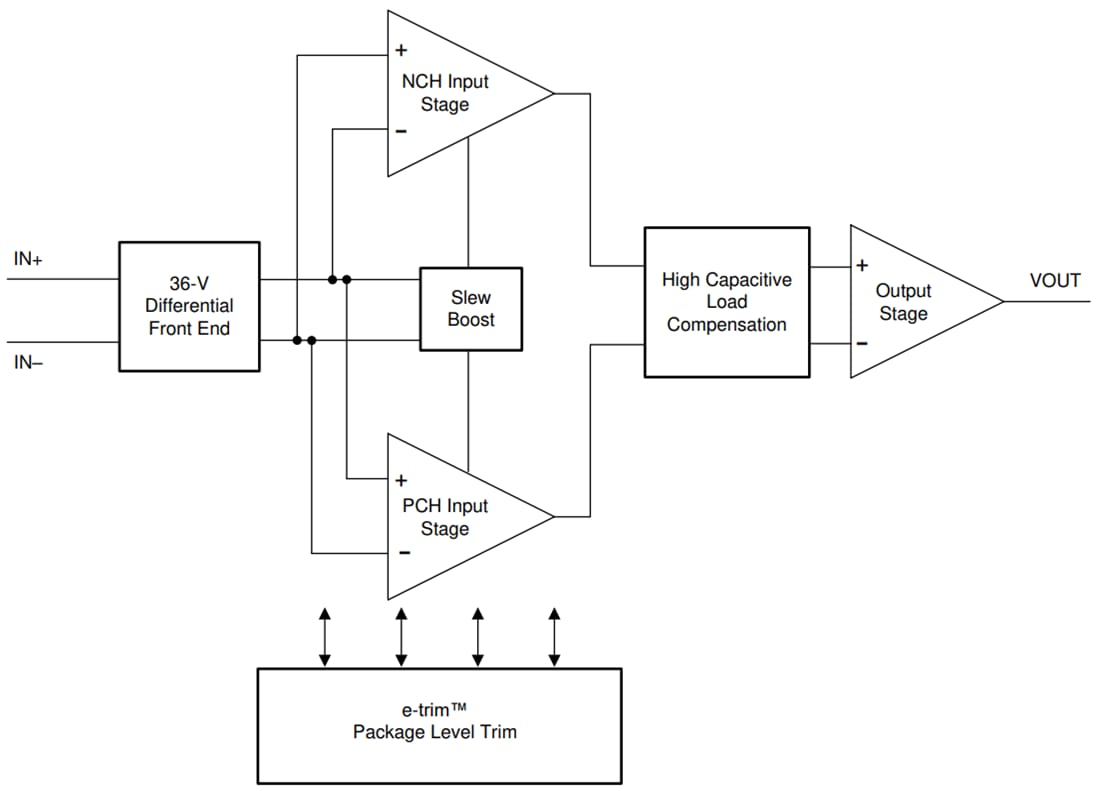
Texas Instruments TLVx197-Q1 High-Voltage Precision Operational Amplifiers (Op Amps) are part of a new generation of low-cost, 36V, automotive-qualified op amps. The TLVx197-Q1 uses a method of package-level trim for offset and offset temperature drift implemented during the final manufacturing steps after the plastic molding process. This method minimizes the influence of inherent input transistor mismatch and errors induced during package molding. Texas Instruments TLVx197-Q1 has good DC precision and AC performance, including rail-to-rail input/output, optimized cost structure, and AEC-Q100 grade 1 qualification. This feature makes these an excellent choice for low-side, current-sensing, and signal-conditioning applications in the automotive space.Additional unique features include a differential input-voltage range to the supply rail, a high output current (±65mA), a heavy capacitive load drive of up to 1nF, and a high slew rate (20V/µs). These features make these devices a robust, high-performance op amp for high-voltage automotive applications. The TLVx197-Q1 op amps are available in standard packages and are specified from –40°C to +125°C.
Features
- AEC-Q100 qualified for automotive applications
- –40°C to +125°C, TA temperature grade 1
- ±500µV (maximum) low offset voltage
- 5.5nV/√Hz at 1kHz low noise
- 140dB high common-mode rejection
- ±5pA low bias current
- Rail-to-rail input and output
- 10MHz GBW wide bandwidth
- 20V/µs high slew rate
- 1mA per amplifier low quiescent current
- ±2.25V to ±18V, 4.5V to 36V wide supply voltage
- EMI/RFI filtered inputs
- Differential input-voltage range to supply rail
- 1nF high capacitive load drive capability
- Industry-standard package
- Single-channel in very small 8-pin VSSOP (TLV197-Q1)
- Dual-channel in 8-pin VSSOP (TLV2197-Q1)
- Quad-channel in 14-pin TSSOP (TLV4197-Q1)
Applications
- Inverter and motor control
- DC/DC converter
- Onboard (OBC) and wireless charger
- Battery management system (BMS)
Block Diagram
發佈日期: 2020-05-20
| 更新日期: 2025-03-10
