Texas Instruments TMDS181 6Gbps TMDS Retimers

Texas Instruments TMDS181 6Gbps TMDS Retimers are a digital video interface (DVI) or high-definition multimedia interface (HDMI™) retimer. The TMDS181 supports four TMDS channels, audio return channel (SPDIF_IN/ARC_OUT), and digital display control (DDC) interfaces. The TMDS181 supports signaling rates up to 6Gbps to allow for the highest resolutions of 4k2k60p 24 bits per pixel and up to WUXGA 16-bit color depth or 1080p with higher refresh rates. The TMDS181 can be configured to support the HDMI2.0a standard. The TMDS181 automatically configures itself as a redriver at a low data rate (<1.0Gbps) or as a retimer above this data rate. Redriver mode supports HDMI1.4b with data rates up to 3.4Gbps.

Features

  • HDMI™ input port to output port with CDR supporting up to 6Gbps data rates
  • Compatible with HDMI™ electrical parameters up to 6Gbps in Retimer mode
  • Support 4k2k60p and up to WUXGA 16-Bit color depth or 1080p with higher refresh rates
  • Retimes input stream to compensate for random Jitter
  • Adaptive Receiver Equalizer or Programmable Fixed Equalizer
  • I2C and pin strap programmable
  • Inter-Pair skew compensation of 5+ Bits
  • Single-Ended mode ARC support
  • Link Debug tools including eye diagram after the RX equalizer
  • 48-pin 7mm × 7mm 0.5mm pitch VQFN package
  • Extended commercial temperature support 0°C to 85°C (TMDS181)
  • –40°C to 85°C (TMDS181I) Industrial temperature support

Applications

  • Digital TV
  • Digital projector
  • Audio/Video equipment
  • Blu-ray™ DVD
  • Monitors
  • Desktops/All-in-Ones
  • Active cables

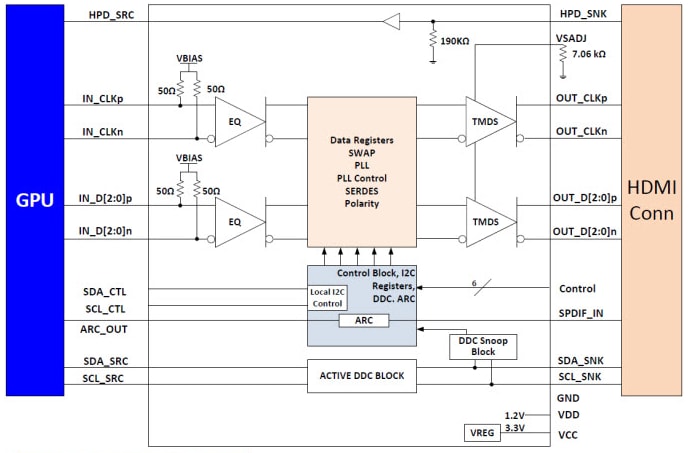
Simplified Schematic

Schematic - Texas Instruments TMDS181 6Gbps TMDS Retimers
發佈日期: 2016-03-23 | 更新日期: 2022-03-11