Texas Instruments TPS2HB35-Q1 Smart High-Side Switch
Texas Instruments TPS2HB35-Q1 Smart High-side Switch is intended for use in 12V automotive systems. The TPS2HB35-Q1 Switch integrates robust protection and diagnostic features to ensure output port protection, even during harmful events like short circuits in automotive systems. The device protects against faults through a reliable current limit, which is adjustable from 2A to 28A, depending on the device variant. The high current limit range allows for usage in loads that require large transient currents, while the low current limit range provides improved protection for loads that do not require high peak currents.The TPS2HB35-Q1 implements a high-accuracy analog current sense that allows for improved load diagnostics. By reporting load current and device temperature to a system MCU, the Switch enables predictive maintenance and load diagnostics that improve the system's lifetime.
The Texas Instruments TPS2HB35-Q1 is available in an HTSSOP package, allowing a reduced PCB footprint. The TPS2HB35-Q1 High-side Switch is AEC-Q100 qualified for automotive applications.
Features
- Qualified for automotive applications
- AEC-Q100 qualified with the following results
- Device temperature grade 1 (TA = -40°C to 125°C ambient operating temperature range)
- Device HBM ESD classification level 2
- Device CDM ESD classification level C4B
- Withstands 40V load dump
- Dual-channel smart high-side switch with 35mΩ RON (TJ = 25°C)
- Improve system-level reliability through adjustable current limiting
- The current limit is adjustable from 2A to 28A and internally fixed at 36A
- Robust integrated output protection
- Integrated thermal protection
- Protection against short-to-ground/battery
- Protection against reverse battery events, including automatic switch on with the reverse voltage
- Automatic shut off if a loss of battery/ground occurs
- Integrated output clamp to demagnetize inductive loads
- Configurable fault handling
- Analog sense output can be configured to measure accurately
- Load current
- Device temperature
- Provides fault indication through SNS pin
- Detection of open load and short-to-battery
Applications
- Automotive display module
- ADAS modules
- Seat comfort module
- Transmission control unit
- HVAC control module
- Body control modules
- Incandescent and LED lighting
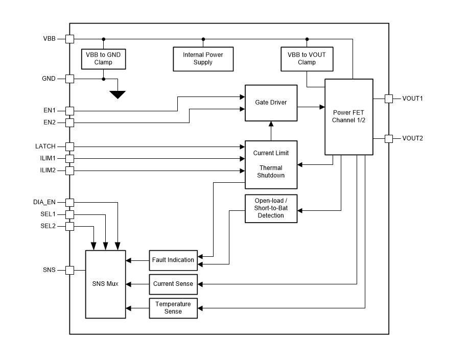
Functional Diagram
發佈日期: 2020-01-21
| 更新日期: 2025-03-06
