Texas Instruments TPS548D26 40A D-CAP+ Step-Down Converter
Texas Instruments TPS548D26 40A D-CAP+ Step-Down Converter is a highly integrated buck converter with a D-CAP+ control topology for fast transient response. The device is easy to use and requires few external components because external compensation is not required. It is well-designed for space-constrained data center applications.The TPS548D26 device has true differential remote sense, high-performance integrated MOSFETs, and an accurate ±1%, 0.6V reference over the full operating junction temperature range. The device features fast load-transient response, accurate load and line regulation, skip-mode or FCCM operation, and programmable soft-start time. Overcurrent, overvoltage, undervoltage, and overtemperature protections are provided with a selectable hiccup or latch-off response.
The Texas Instruments TPS548D26 device is lead-free and RoHS compliant without exemption.
Features
- Integrated 4.0mΩ and 1.0mΩ MOSFETs for 40A continuous current operation
- Supports external 5V bias, improving efficiency and enabling 2.7V minimum input voltage
- 0.6V to 5.5V output voltage range
- Precision voltage reference and differential remote sense for high output accuracy
- ±0.5% VOUT tolerance from 0°C to 85°C TJ
- ±1% VOUT tolerance from -40°C to 125°C TJ
- D-CAP+™ control topology with a fast transient response, supporting all ceramic output capacitors
- Selectable internal loop compensation through SS pin
- Selectable cycle-by-cycle valley current limit
- Selectable operation frequency 0.6MHz to 1.2MHz with DCM or FCCM operation
- Safe start-up into pre-biased outputs
- Programmable soft-start time from 0.75ms to 6ms
- Open-drain power-good output (PG)
- Overcurrent, overvoltage, undervoltage, and overtemperature protections with a selectable hiccup or latch-off response
- 5mm×6mm, 37-pin WQFN-FCRLF package
Applications
- Server and cloud-computing POLs
- Hardware accelerator
- Data center switches
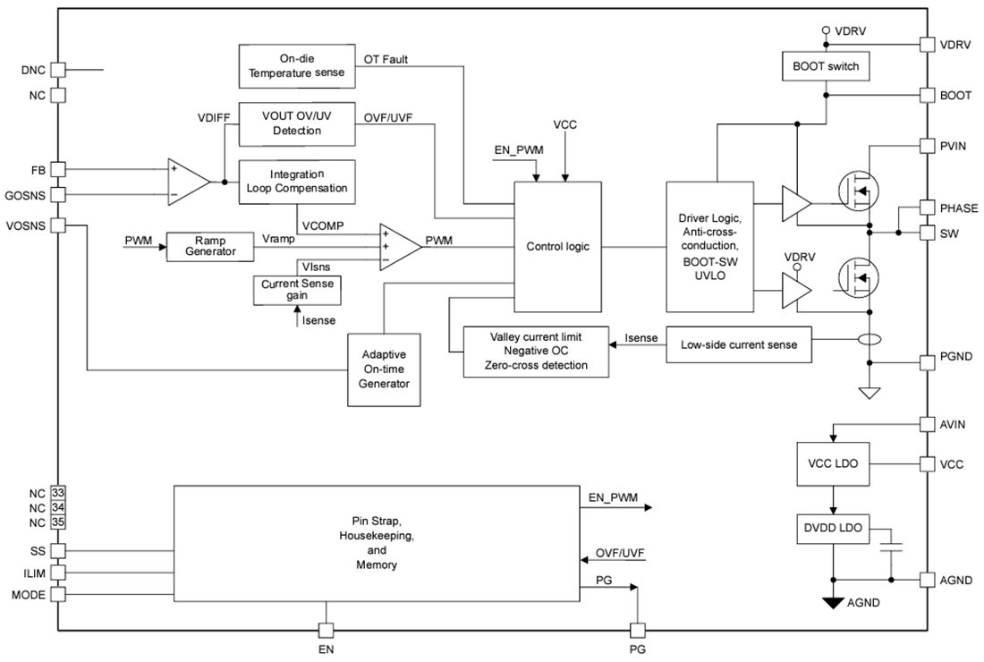
Functional Block Diagram
發佈日期: 2024-04-22
| 更新日期: 2024-05-06
