Toshiba CMOS Bus Transceivers
Toshiba CMOS Bus Transceivers enable interfacing between two systems with power supply voltages from 0.8V to 3.6V. The two supply voltages can be user-configurable within the operating range, and the sequence of supply voltage ON/OFF can be freely set. These bus transceivers feature a bidirectional interface, high-speed operation, a wide operating temperature range, and a wide supply voltage range. The CMOS bus transceivers provide 3.6V tolerance and power-down protection to all inputs and outputs. The input has a tolerant function that allows input of up to 3.6V regardless of the supply voltage. These transceivers operate within the -40°C to 125°C range and come in a small TSSOP16B package. Typical applications include Personal Digital Assistants (PDAs) and cellular phones.Features
- Wide operating temperature range
- Wide supply voltage value
- Bidirectional interface
- High-speed operation
- TSSOP16B small package
- 180mW low power dissipation
- 3.6V tolerance and power-down protection are provided to all inputs and outputs
Applications
- Personal Digital Assistants (PDAs)
- Cellular phones
View Results ( 3 ) Page
| 零件編號 | 規格書 | 邏輯系列 | 電路數 | 低電平輸出電流 | 高電平輸出電流 | Pd - 功率消耗 | 電源電壓 - 最大值 | 電源電壓 - 最小值 | 最低工作溫度 | 最高工作溫度 |
|---|---|---|---|---|---|---|---|---|---|---|
| 74AVC4T245FT | ![]() |
AVC | 4 Circuit | 12 mA | - 12 mA | 180 mW | 36 V | 800 mV | - 40 C | + 125 C |
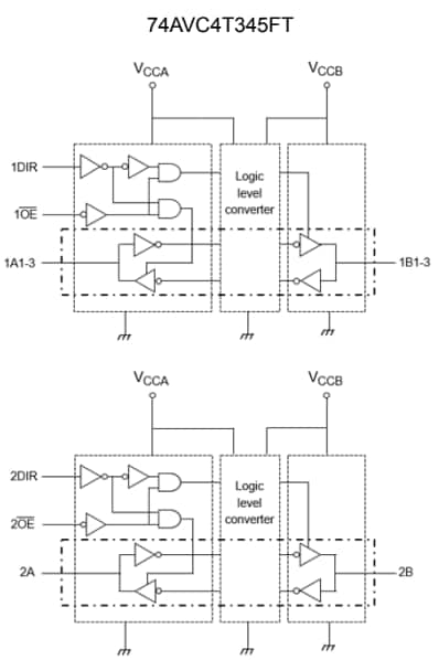
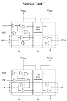
| 74AVC4T345FT | ![]() |
AVC | 4 Circuit | 12 mA | - 12 mA | 180 mW | 3.6 V | 800 mV | - 40 C | + 125 C |
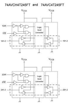
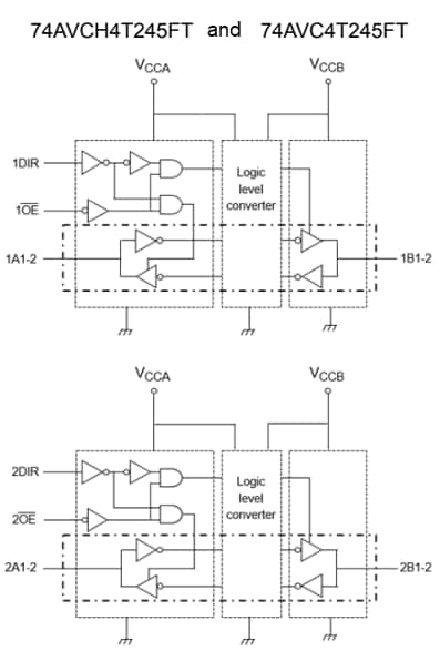
| 74AVCH4T245FT | ![]() |
AVCH | 4 Circuit | 12 mA | - 12 mA | 180 mW | 3.6 V | 800 mV | - 40 C | + 125 C |
發佈日期: 2025-06-08
| 更新日期: 2025-06-16

