Vishay 2Wx Single-Phase Bridge Rectifiers
Vishay 2Wx Single-Phase Bridge Rectifiers offer high surge current capability and high case dielectric strength. These rectifiers feature <0.5μA typical IR, 60A peak forward surge current single half sine-wave superimposed on rated load, and -55°C to +150°C operating temperature range. The 2Wx bridge rectifiers meet the UL 94 V-0 flammability rating and are available in a WOG package. These bridge rectifiers are RoHS-compliant and solderable per J-STD-002 and JESD22-B102. The 2Wx single-phase bridge rectifiers are ideal for printed circuit boards, adapters, power supplies, chargers, lighting ballasters on consumers, and home appliances.Features
- UL recognition, file number E54214
- Ideal for printed circuit boards
- Typical IR less than 0.5μA
- High-case dielectric strength
- High surge current capability
- Solder dip 260°C, 40s
Applications
- Printed circuit boards
- Power supplies
- Adapters
- Chargers
- Lighting ballasters on consumers
- Home appliances
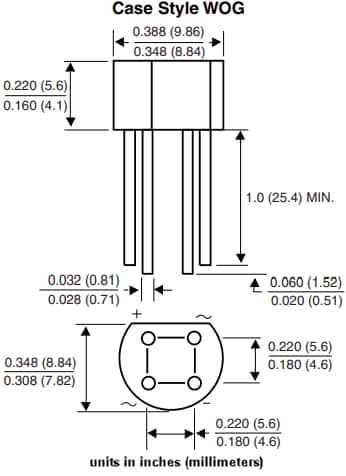
Dimension Diagram
發佈日期: 2025-02-05
| 更新日期: 2025-03-18
